Chapter 1. setting up – IAI America S-SEL-E User Manual
Page 59

Page 54
Chapter 1.
Setting Up
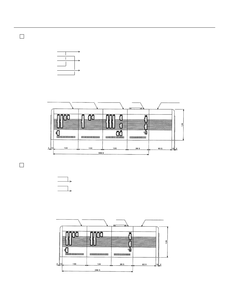
4
6-Axis configuration with various motor capacities
5
4-Axis configuration with various motor capacities
Axis 1 =200W
Axis 2 =60W
Axis 3 =100W
Axis 4 =200W
Axis 5 =200W
Axis 6 =100W
CPU Unit
+
200W 2-axis servo driver unit
+
100W 4-axis servo driver unit (using 3 axes only)
+
200W 2-axis servo driver unit (using 1 axis only)
* The unit with the largest motor capacity is placed at the furthest left of the CPU unit. This is to reduce noise
interference. A 12-slot expansion unit is available as an option.
Servo unit 200W 2 axis
(2 axis use)
Servo unit 200W 2 axis
(1 axis use)
CPU unit
4-slot expansion unit
Servo unit 100W 4 axis
(3 axis use)
Axis 1 =200W
Axis 2 =200W
Axis 3 =200W
Axis 4 =100W
CPU Unit
+
200W 2-axis servo driver unit
+
200W 2-axis servo driver unit
(Specification changes to 200W 1-axis and 100W 1-axis)
*
The unit with the largest motor capacity is placed at the furthest left of the CPU unit. This is to reduce noise
interference.
Servo unit 200W 2 axis
(2 axis use)
Servo unit 200W 2 axis
(2 axis use)
CPU unit
4-slot expansion unit
∪
∪
∪
