8 exchanging the plc, Board pl 400, 8 exchanging the plc board pl 400 – HEIDENHAIN TNC 407 (243 020) Service Manual User Manual
Page 125

31-O
SERVICE MANUAL TNC
Issue:
01.09.1995
Page
105
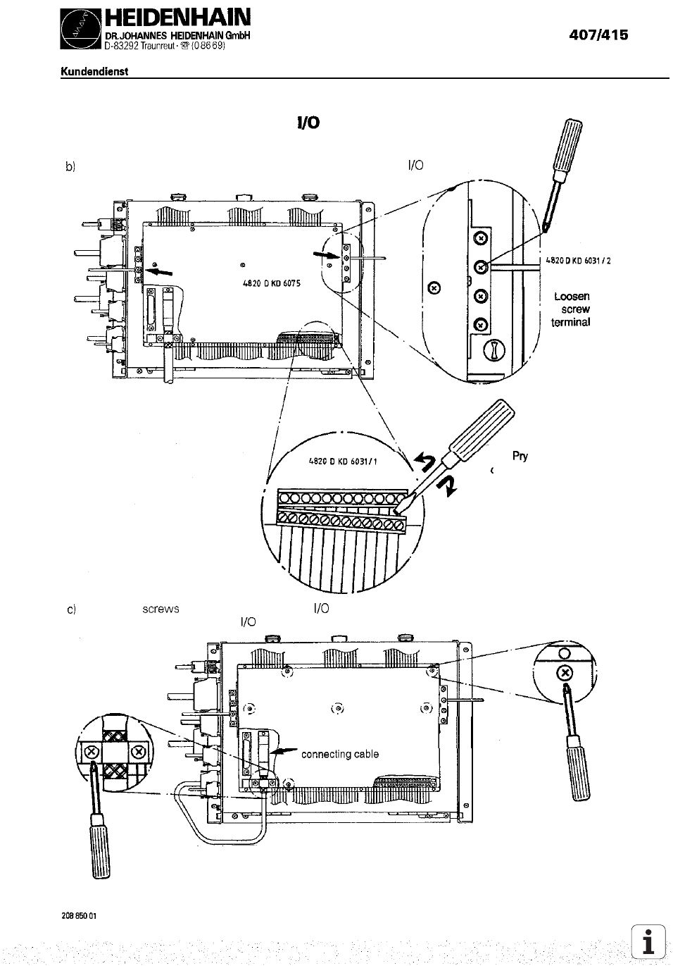
19.8 Exchanging the PLC Board PL 400
a) Switch off the main switch.
Loosen the plug connections and the screw terminals at the PLC
board
apart the terminal
clamp using a screwdriver
Loosen the
from the cover of the PLC
board, remove cover and disconnect the connecting cable
to the PLC board from the PLC
board.
disconnect the
Loosen screws
Loosen cable strap
This manual is related to the following products:
