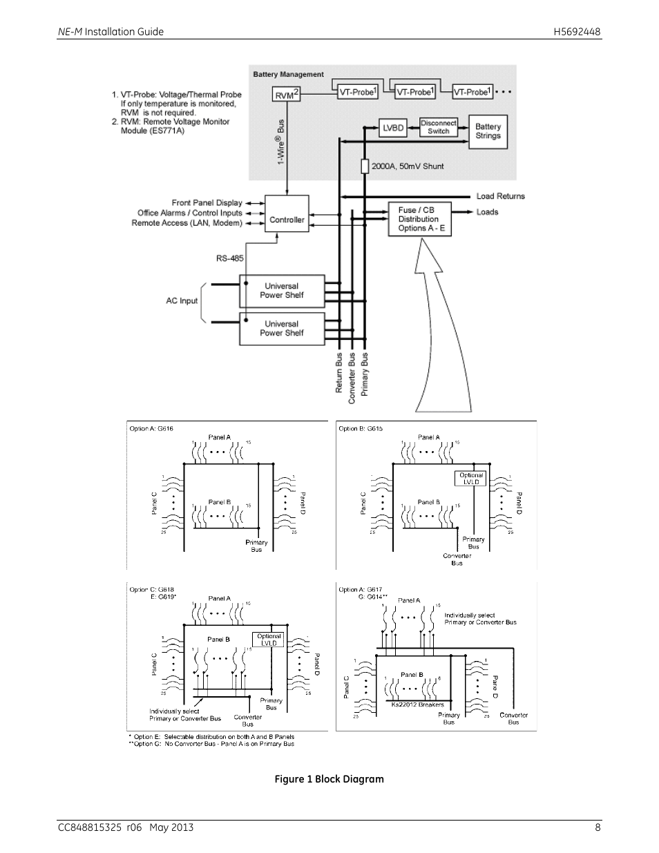
Figure 1 block diagram – GE Industrial Solutions H5692448 Power Systems Infinity M1 (NE-M) User Manual
Page 8
See also other documents in the category GE Industrial Solutions Equipment:
- EntelliGuard G Spring charge Contact (3 pages)
- Austin Lynx II SIP (19 pages)
- TLE Series 225-500 User Manual (90 pages)
- Power Mark Gold Generator Interlock Kit (2 pages)
- CAR2548FP series (15 pages)
- Spectra Series Power Panelboards AEG47 and AEG47S (1 page)
- GE TR7000 Series (17 pages)
- Record Plus Motor Operator Mechanism: FC100 (6 pages)
- Spectra Series Power Panelboards Endwall Kit (1 page)
- ProTrip Conversion Kits DB-75, DBL-75, DB-100, DBL-100 (16 pages)
- Spectra II Series Busway Plugs (2 pages)
- Spectra Series Power Panelboards AMC2GM and AMC3GM (2 pages)
- EntelliGuard 800–2000 A Frames, 240–600 Vac Maintenance Manual (64 pages)
- EntelliGuard G Ready To Close (4 pages)
- Position Switch Kit (12 pages)
- Spectra Series Power Panelboards AMCB4QD and AMCB6QD (4 pages)
- Record Plus TDR Door-Ring Interlock Kit: FC100 (4 pages)
- ProTrip Conversion Kits DB-15 (20 pages)
- Record Plus TDR, NEMA 1, 12: FE250 (5 pages)
- ATL010A0X43-SR (21 pages)
- Spectra Series Power Panelboards 30–200 Ampere Fusible Switch (2 pages)
- CAR2512FP Front-End (15 pages)
- CP2000AC54TE (20 pages)
- MX150_MX250 Modbus Network Card (27 pages)
- Spectra Series Power Panelboards 800 & 1200 Ampere Fusible Switch (2 pages)
- Spectra Series Fusible Switch Units J & T (4 pages)
- EntelliGuard G NETWORK INTERLOCK DEVICE (3 pages)
- EntelliGuard TU Trip Units (106 pages)
- ZBTSD Series (36 pages)
- AF-600 FP Profibus DP (91 pages)
- Neutral Mounting Kit - DNK400 (1 page)
- Record Plus Variable Depth Operating Mechanism: FE250 (4 pages)
- Spectra Series Power Panelboards 30–60 Ampere Expansion Kit (4 pages)
- Power Break II Undervoltage Release (4 pages)
- Record Plus Shunt Trip and Undervoltage Release (4 pages)
- EntelliGuard G Drawout Secondary Disconnect (4 pages)
- ACE4000T SERIES (2 pages)
- SPSA600 (12 pages)
- Dry-Type General Purpose Power Transformers (8 pages)
- Power Express Class 2 (8 pages)
- Austin MegaLynx (20 pages)
- CAR1612FP series (7 pages)
- CAR2024FP series (7 pages)
- EBVW020A0B Barracuda Series (18 pages)
