Directory
Brands
KERN & SOHN manuals
Scales
ALT 250-4B
Manual

KERN & SOHN ALT 250-4B User Manual

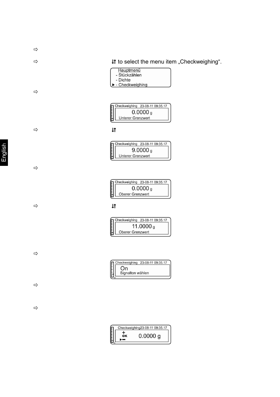
Page 80

  • Text mode
  • Original mode
KERN & SOHN ALT 250-4B User Manual | Page 80 / 94 KERN & SOHN ALT 250-4B User Manual | Page 80 / 94
Pages: 1 … 78 79 80 81 82 … 94
  • wrong Brand
  • wrong Model
  • non readable
This manual is related to the following products:
  • ALT 160-4B
See also other documents in the category KERN & SOHN Scales:
  • TEE 150-1 (2 pages)
  • TCB 200-1 (2 pages)
  • CM 60-2N (14 pages)
  • TAB 20-3 (14 pages)
  • TEB 200-1 (11 pages)
  • EMB 100-3 (18 pages)
  • EMB 500-1GN (16 pages)
  • EMB 500-1BE (48 pages)
  • DBS 60-3 (91 pages)
  • DLB 160-3A (59 pages)
  • DLT 100-3N (77 pages)
  • MLB 50-3C (68 pages)
  • MLS 50-3C (83 pages)
  • ABS 80-4N (96 pages)
  • ABT 120-4M (72 pages)
  • AES 100-4C (119 pages)
  • AES 100-4N (85 pages)
  • AET 500-4 (189 pages)
  • ALS 160-4A (78 pages)
  • ECB 10K5 (16 pages)
  • ECE 10K5 (12 pages)
  • FCB 3K0.1 (36 pages)
  • FCE 3K1N (15 pages)
  • FFN 1K-4N (32 pages)
  • FKB 6K0.02 (42 pages)
  • FKB 8K0.1A (39 pages)
  • FKT 6K0.1 (53 pages)
  • FKT 60K1L (7 pages)
  • FOB 1.5K0.5 (21 pages)
  • GAB 6K0.05N (41 pages)
  • GAB 6K-5P (39 pages)
  • WTB 1K-4N (35 pages)
  • FOB 500-1S (17 pages)
  • FOB 0.5K-4NS (27 pages)
  • IXS 6K-3M (109 pages)
  • IXS 6K-3M Platform (9 pages)
  • SFB 50K-3XL (53 pages)
  • SFB 50K-3XL Addendum (6 pages)
  • KFE-TM (58 pages)
  • FXN 3K-3 (22 pages)
  • IEX 6K-3MEU (13 pages)
  • IEX 6K-3MEU Safety (11 pages)
  • OEX (15 pages)
  • OEX Safety (12 pages)
Home Brands Popular manuals Recently added
Manuals Directory

© 2012–2025, azmanual.top
All rights reserved.