1 stack, 1 switch ids – PLANET SGSW-24040 User Manual
Page 322

User’s Manual of SGSW-24040 / 24240 Series
322
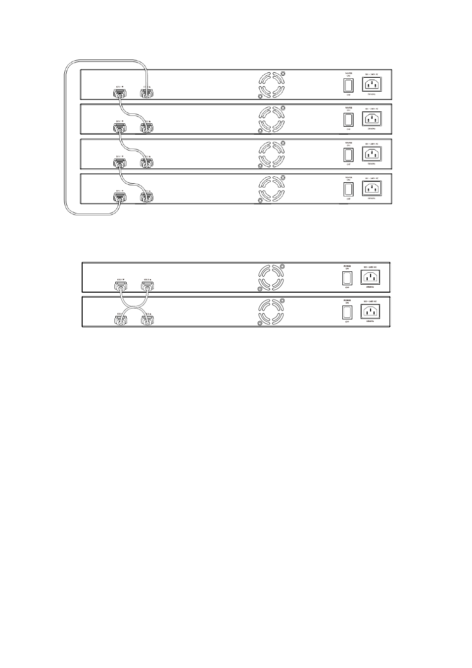
Ring Stack: A ring of switches, thereby providing redundant forwarding paths.
Figure 4-17-2 Ring Stack topology
Back-to-Back Stack : Two switches interconnected on both stacking ports.
Figure 4-17-3 Back to back Stack topology
4.17.1 Stack
This section provides information for understand stacking architecture, include the below items:
Switch IDs
• Assigning and Swapping Switch IDs
• Removing a Switch From the Stack
• Replacing a Switch
• General Switch ID Assignment Rules
Master Election
Stack Redundancy
Shortest Path Forwarding
4.17.1.1 Switch IDs
The Switch ID (1-16) assigned to a SGSW Switch.
Assigning and Swapping Switch IDs
When a switch is added to the stack, a Switch ID is automatically assigned to the switch. The automatic SID assignment can