Search
Directory
Brands
High End Systems manuals
Tools
Power Cue DMX
Manual
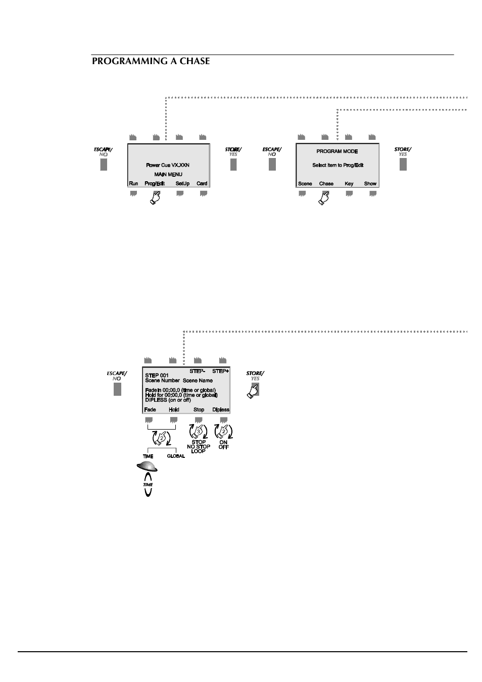
High End Systems Power Cue DMX User Manual
Page 49
Text mode
Original mode
High End Systems Power Cue DMX User Manual | Page 49 / 82
Pages:
1
…
47
48
49
50
51
…
82
wrong Brand
wrong Model
non readable