Search
Directory
Brands
High End Systems manuals
Tools
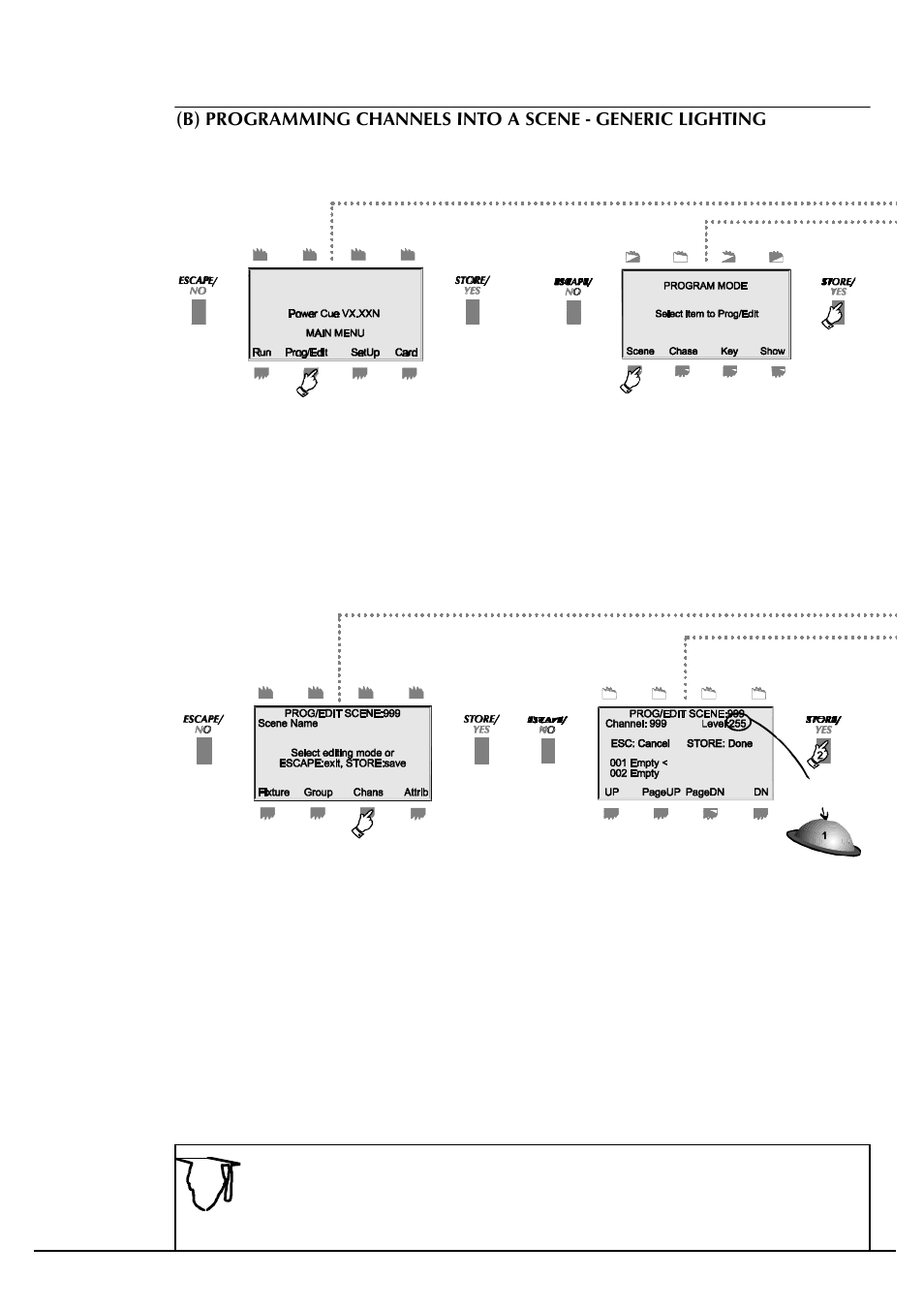
Power Cue DMX
Manual
High End Systems Power Cue DMX User Manual
Page 41
Text mode
Original mode
High End Systems Power Cue DMX User Manual | Page 41 / 82
Pages:
1
…
39
40
41
42
43
…
82
wrong Brand
wrong Model
non readable