Search
Directory
Brands
Precision Digital manuals
Control panel
PD6000
Manual
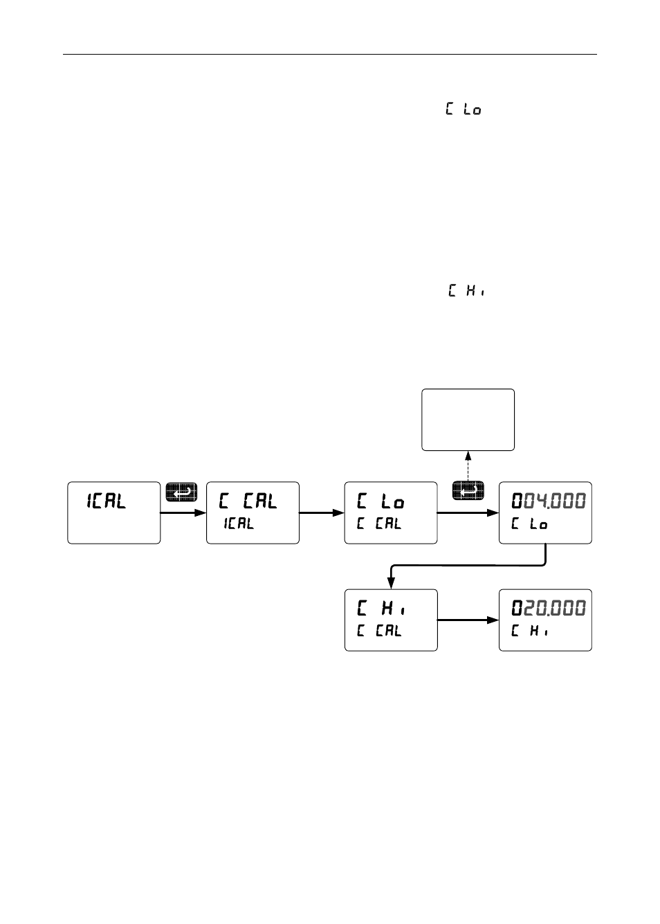
C cal, C lo, C hi – Precision Digital PD6000 User Manual
Page 77: Ical
Text mode
Original mode
C cal, C lo, C hi | Ical | Precision Digital PD6000 User Manual | Page 77 / 96
Pages:
1
…
75
76
77
78
79
…
96
wrong Brand
wrong Model
non readable
This manual is related to the following products:
PD6200
PD6210
See also other documents in the category Precision Digital Control panel:
PD7000
(4 pages)
PD6300
(96 pages)
PD6060
(104 pages)
PD6210
(108 pages)
PD6310
(104 pages)
PD6310-WM
(100 pages)
PD6100
(100 pages)
PD6088
(104 pages)
PD6400
(96 pages)
PD603
(32 pages)
PD865
(84 pages)