Isis nsap address, Is-is nsap address -4 – AIS Router AI2524 User Manual
Page 162

AI2524 Router Card User’s Manual
Page 9-4
August 1997
2524UM
z
The system ID is the 6 bytes before the N-selector.
z
The N-selector (S) is the last byte of the NSAP address.
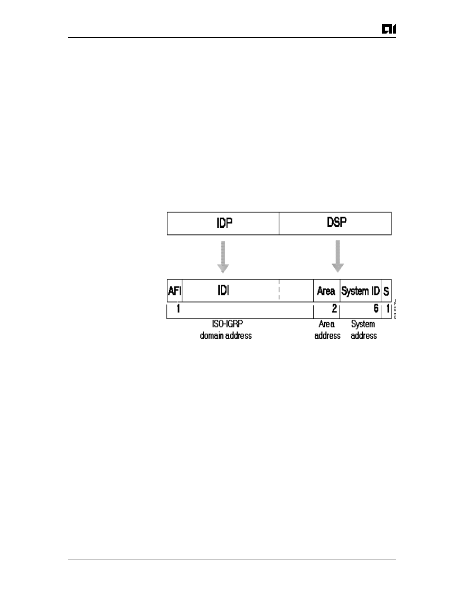
Cisco's ISO IGRP routing implementation interprets the bytes from
the AFI up to (but not including) the area field in the DSP as
domai nidentifier. The area field specifies the area, and the system ID
specifies the system.
illustrates the ISO IGRP NSAP addressing structure. The
maximum address size is 20 bytes.
Figure 9-3:ISO IGRP NSAP Addressing Structure
IS-IS NSAP Address
An IS-IS NSAP address is divided into two parts: an area address and
a system ID. Level 2 routing (routing between areas) uses the area ad-
dress. Leve l1 routing (routing within an area) uses the system ID ad-
dress. The NSAP address is laid out as:
z
The area address is the NSAP address, not including the system ID
and N-selector.
z
The system ID is found between the area address and the N-selec-
tor byte.
z
The N-selector (S) is the last byte of the NSAP address.
