Search
Directory
Brands
Texas Instruments manuals
Acoustics
TMS320F2802
Manual
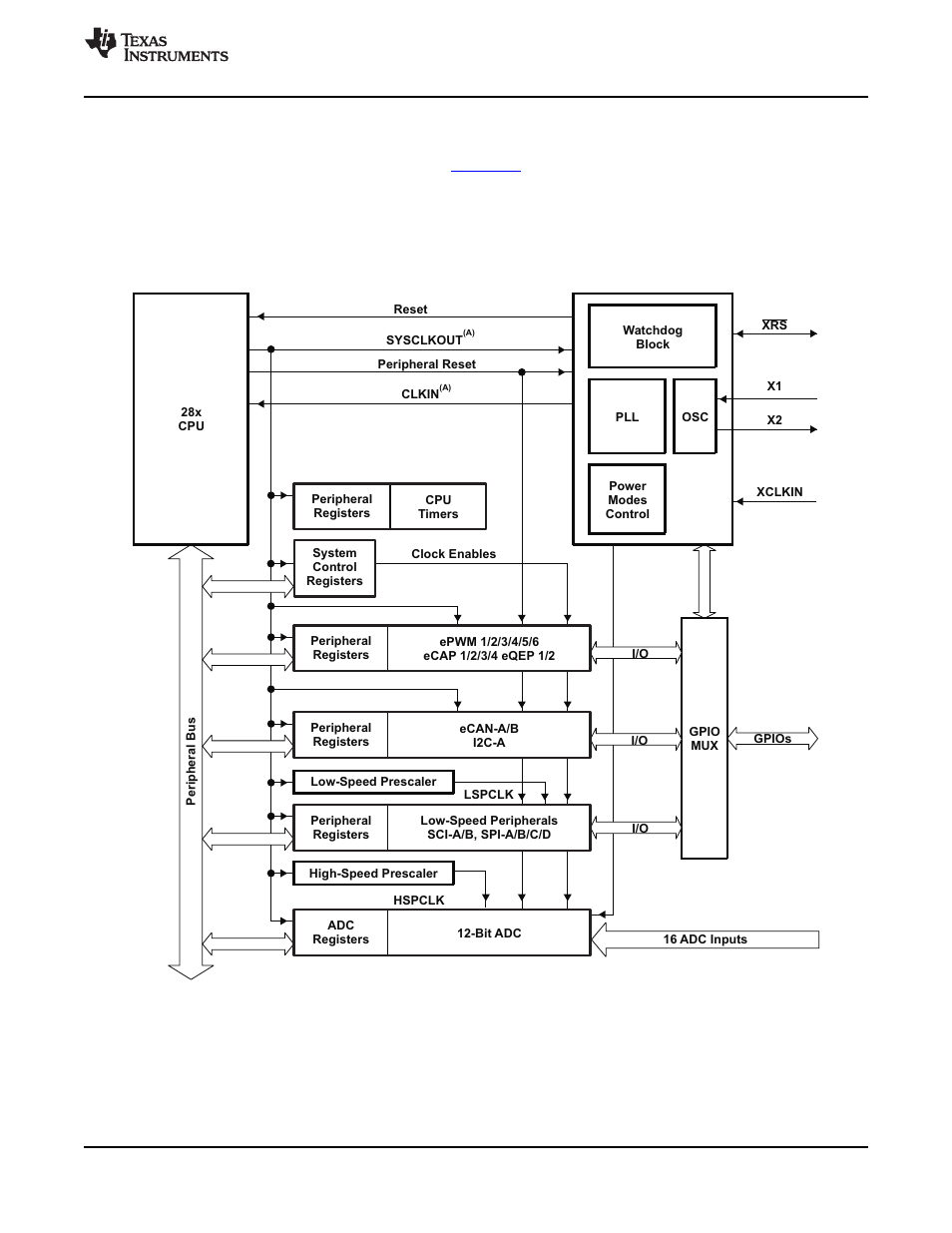
6 system control – Texas Instruments TMS320F2802 User Manual
Page 45
Text mode
Original mode
6 system control | Texas Instruments TMS320F2802 User Manual | Page 45 / 147
Pages:
1
…
43
44
45
46
47
…
147
wrong Brand
wrong Model
non readable
This manual is related to the following products:
TMS320F2808
TMS320C2801
TMS320F28015
TMS320F2809
TMS320C2802
TMS320F2806
TMS320F2801
TMS320F28016
See also other documents in the category Texas Instruments Acoustics:
ADS8412 EVM
(31 pages)
DEM-PCM1717
(16 pages)
TMS320C642X
(41 pages)
MSP50C614
(414 pages)
TMS320C6202
(74 pages)
SLEU056
(26 pages)
DEM-DAI3010
(24 pages)