Directory
Brands
HP manuals
Notebooks
ZT1100
Manual

HP ZT1100 User Manual

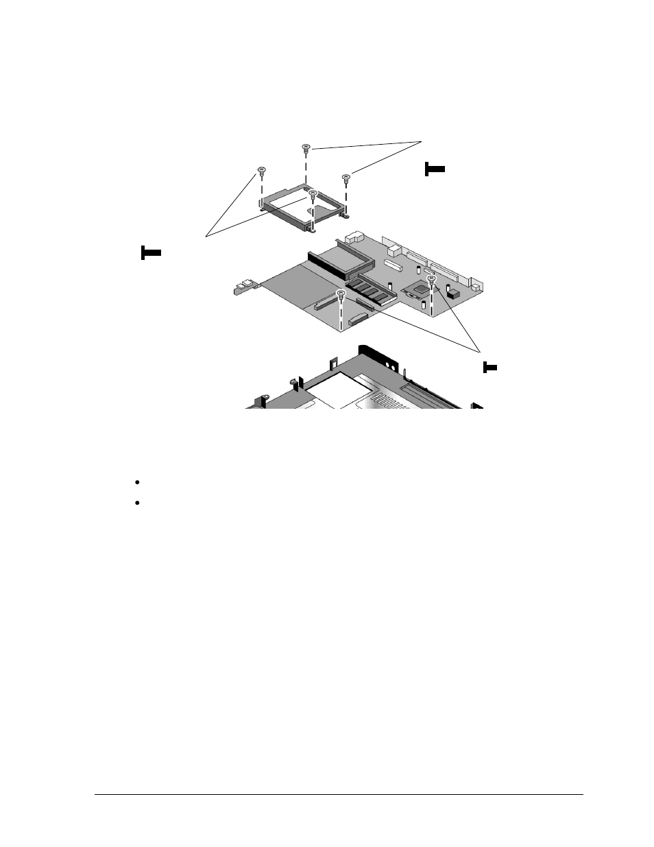
Page 55

  • Text mode
  • Original mode
HP ZT1100 User Manual | Page 55 / 104 HP ZT1100 User Manual | Page 55 / 104
Pages: 1 … 53 54 55 56 57 … 104
  • wrong Brand
  • wrong Model
  • non readable
This manual is related to the following products:
  • XZ100
See also other documents in the category HP Notebooks:
  • EliteBook 8440p (169 pages)
  • ZT1100 (58 pages)
  • 110 (104 pages)
  • ze2000 (213 pages)
  • OmniBook 2000 Notebook PC (70 pages)
  • XE3 (116 pages)
  • 1103 (101 pages)
  • ze4200 (126 pages)
  • TC1 100 (17 pages)
  • 15 (101 pages)
  • XB4000 (43 pages)
  • ze2300 (239 pages)
  • Laptop Docking Station (70 pages)
  • VXI E1432A (222 pages)
  • V6115TU (22 pages)
  • 210 (67 pages)
  • zt3000 (186 pages)
  • XB3000 (79 pages)
  • xe310 (12 pages)
  • COMPAQ TC4400 (219 pages)
  • 367055-002 (26 pages)
  • Compaq Tablet PC TC1 100 (23 pages)
  • 463777-001 (42 pages)
  • zx5000 (272 pages)
  • VC133 (38 pages)
  • USB Media Docking Station VY847AA#ABA (1 page)
  • ze4100 (5 pages)
  • 2000 (118 pages)
  • ZE4900 (182 pages)
  • V4200 (273 pages)
  • Compaq Tablet PC TC1100HP (22 pages)
  • EliteBook 6930p Notebook PC (35 pages)
  • Chromebook 11 G2 (23 pages)
  • EliteBook Folio 9470M-Notebook-PC (33 pages)
  • EliteBook 2570p Notebook PC (107 pages)
  • EliteBook 2570p Notebook PC (106 pages)
  • ProBook 6470b Notebook-PC (126 pages)
  • ProBook 6470b Notebook-PC (113 pages)
  • EliteBook 2540p Notebook PC (175 pages)
  • EliteBook 2540p Notebook PC (173 pages)
  • EliteBook 2540p Notebook PC (177 pages)
  • EliteBook 2540p Notebook PC (23 pages)
  • ProBook 6460B Notebook-PC (45 pages)
  • mt41 Mobile Thin Client (90 pages)
Home Brands Popular manuals Recently added
Manuals Directory

© 2012–2025, azmanual.top
All rights reserved.