Rogramming, Eter, Level input – Red Lion CUB5T User Manual
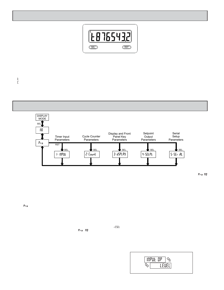
Page 6: Eviewing, Ront, Uttons, Isplay, Overview, Dsplay, Count 1-input 4-setpt 5-serial
See also other documents in the category Red Lion Computer Accessories:
- G10 10" LCD color touch panel (12 pages)
- G15 15" LCD color touch panel (4 pages)
- G07 7" LCD color touch panel (4 pages)
- G12 12" LCD color touch panel (4 pages)
- G09 9" LCD color touch panel (4 pages)
- G10 10" LCD color touch panel (4 pages)
- GMDIO Digital I/O Module (8 pages)
- GMINI/GMINV Modules for Process Signals (8 pages)
- GMOUT 4 Channel Analog Output Module (4 pages)
- GMPID Single and Dual PID Modules (8 pages)
- GMSG1 Strain Gage Input Module (8 pages)
- GMUIN4 Universal Input Module (8 pages)
- G303 3" Monochrome Operator Panel (8 pages)
- G306 5.7" Ultra-STN Color Touch Panel (8 pages)
- G308 G308A 8.4" TFT and G308C 7.7 DSTN Color Touch Panels" (8 pages)
- G310 10" TFT Color Touch Panel (8 pages)
- G315 15" TFT Color Touch Panel (8 pages)
- G304K2 4.3" Operator Interface with TFT Display (4 pages)
- G307K2 7" Operator Interface with TFT Display (4 pages)
- ProducTVity Station (8 pages)
- DSPZR (8 pages)
- CPNL (2 pages)
- G308A Replacement Backlight (1 page)
- G310 Replacement Backlight (2 pages)
- G310S Replacement Backlight (2 pages)
- G3CN (4 pages)
- G3DN (4 pages)
- G3ENET (2 pages)
- G3FILM (Protective Films) (1 page)
- G3GSM (4 pages)
- G3MPI (4 pages)
- G3PB (4 pages)
- G3QANT (2 pages)
- G3RS (4 pages)
- G3USB (4 pages)
- XCCN (4 pages)
- XCDN (4 pages)
- XCENET (4 pages)
- XCGSM (4 pages)
- XCPB (4 pages)
- XCRS (4 pages)
- PFM - Plant Floor Marquee (4 pages)
- CUB5 (16 pages)
- C48C (6 pages)
- C48C (57 pages)
