Slide number 10, Outils requis – Draw-Tite 41947 ULTRA FRAME RECEIVER User Manual
Page 10

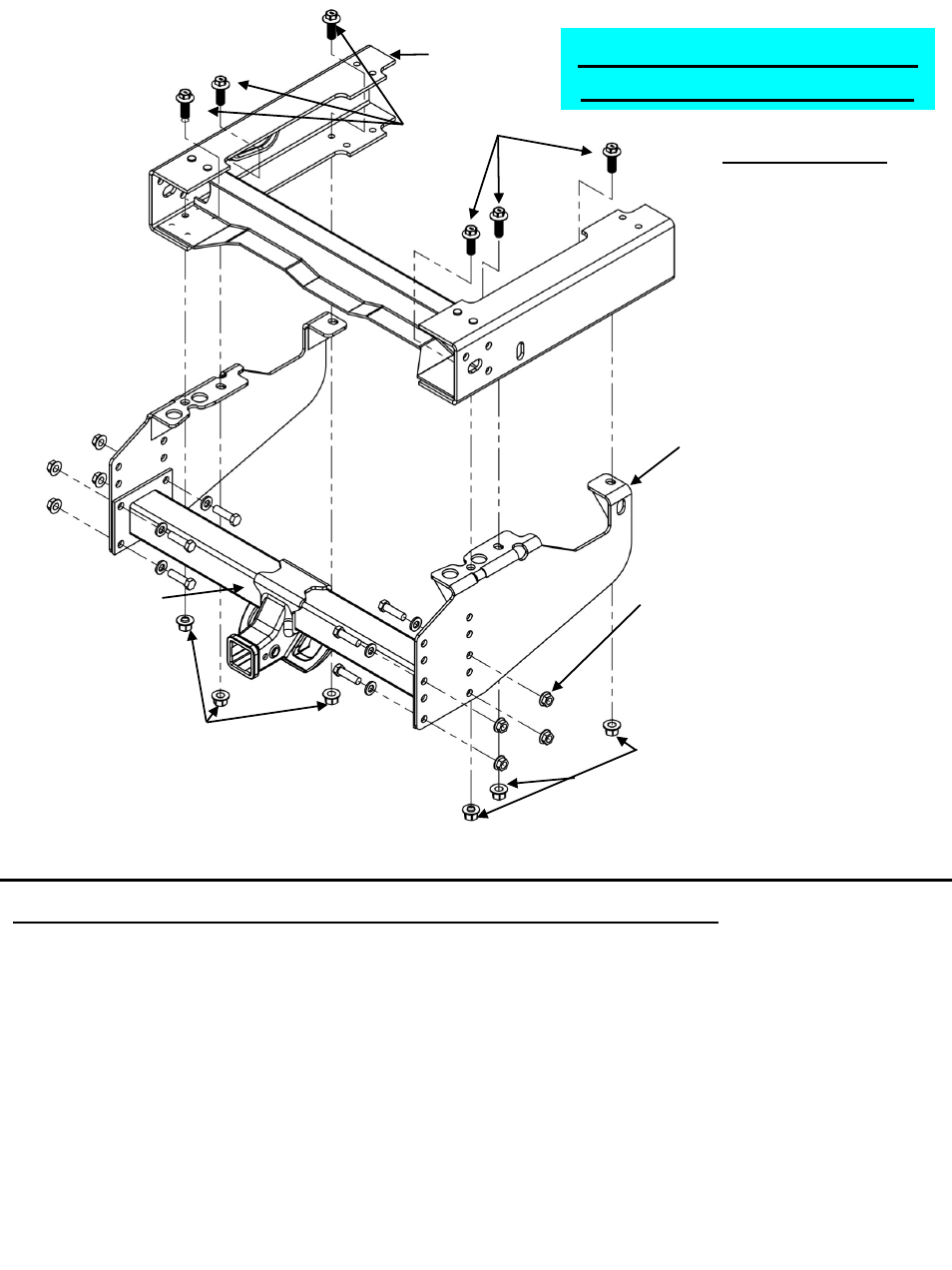
FORD F-350, F-450, F-550
CHÂSSIS-CABINE SEUL.
OUTILS REQUIS
DOUILLE 13/16”, 7/8”
DOUILLE 21mm, 24mm
MÈCHE 11/16”
CLÉ DYNAMOMÉTRIQUE
LUNETTES DE SÉCURITÉ
SUPPORT LATÉRAL
SECTION CENTRALE
LONGERON DE
CAMION
PLAQUES CONTRE-ÉCROU
M16 X 2.0 CL10.9
BOULON M16 X 2.0
PLAQUES CONTRE-ÉCROU
M16 X 2.0 CL10.9
VOIR LA PREMIÈRE PAGE POUR LES
FIXATIONS DE LA SECTION CENTRALE
REMARQUE :
Montage général – Poser sans trop serrer les supports latéraux sur le véhicule (cette page); poser la section centrale et
serrer toutes les fixations selon les spécifications appropriées (page 1).
99-12 FORD F-350, F-450, F-550 CHÂSSIS-CABINE SEUL. (CADRE 34”)
1. Soulever et immobiliser les supports latéraux en position, en centrant le trou de fixation avant entre le
renfort de suspension et le contour des rivets de cadre de la traverse arrière.
2. En utilisant le support latéral comme gabarit, marquer le cadre au centre de chaque trou de fixation restant.
Avertissement : Ne pas percer dans les conduites d'essence ou électriques, prendre les précautions
appropriées avant l'étape 3.
3. Enlever le support latéral et percer des trous 9/16” dans le cadre. Conseil : Un petit trou de guidage est
recommandé.
4. Poser le support latéral sans trop serrer à l'aide de la visserie illustrée ci-dessus.
5. Soulever la section centrale de l’attelage à la position requise pour le modèle de véhicule. Poser la section
centrale à l’aide de huit (8) boulons 9/16 x 1-3/4” et leurs rondelles et contre-écrous à embase.
6. Serrer les supports d'attelage latéraux sur la section centrale. Serrer les supports d’attelage latéraux contre
le cadre du camion.