Installing the wheel magnets, Installing the magnetic sensor, S t e p – TeeJet 844 Sprayer Control User Manual
Page 10

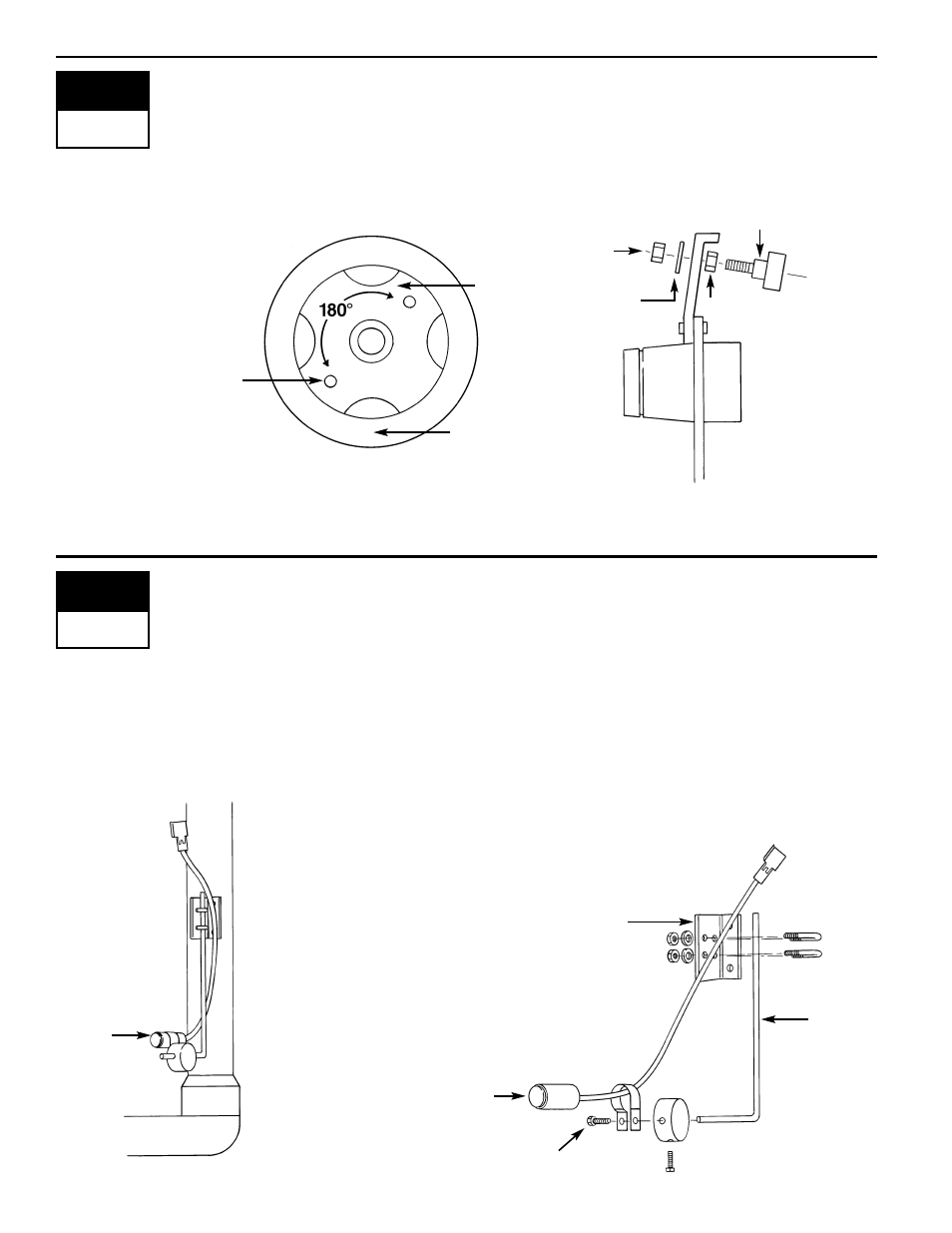
Installing the Wheel Magnets
Check for pre-drilled holes in the wheel rim. If pre-drilled holes are not available,
layout a pattern as shown in Figure 4 and drill two 3/8 inch (10 mm) holes,
locating them near the outer edge of the rim, if possible and 180° from each other.
Place the magnets into each of the two holes on the inside rim and securely
fasten using the nuts and washers provided.
Installing the Magnetic Sensor
The flat, pressed L bracket of the wheel speed sensor kit should be secured to a
vertical member near the non-driven wheel. The round, right angle steel bracket
is then secured to the flat bracket with the two U-bolts and necessary hardware
provided. The round, right angle bracket is then used to secure the magnetic
sensor mounting clamp.
The magnetic sensor should be inserted into the mounting clamp and positioned
to within 1/8 to 3/8 inch (3-10 mm) of the wheel magnet. Tighten the sensor
clamp using the clamp screw per Figure 6A.
Your installation will likely vary from the example. It may be necessary to
customize the installation to accommodate your specific machine. Keep in
mind that the two magnets must be spaced an equal distance around the
wheel. The magnetic sensor must be mounted in-line
with the magnets and positioned within 1/8 inch to
3/8 inch (3-10 mm) from each magnet as they
pass the Sensor assembly.
8
2
S P E E D
S T E P
3
S P E E D
S T E P
F
IGURE
4 F
IGURE
5
M
AGNET
L
OCATIONS
M
AGNET
A
SSEMBLY
TIRE
WHEEL
NUT
NUT
MAGNET
WASHER
3/8˝ (10 mm)
HOLE FOR
MAGNET
F
IGURE
6A
S
ENSOR
A
SSEMBLY
CLAMP
SCREW
SENSOR
BRACKET
F
IGURE
6
S
ENSOR
M
OUNTING
SENSOR
FLAT
L BRACKET