Directory
Brands
Dynasonics manuals
Equipment
Fusion Water Flow Meter
Manual

Dynasonics Fusion Water Flow Meter User Manual

Page 36

  • Text mode
  • Original mode
background image

36

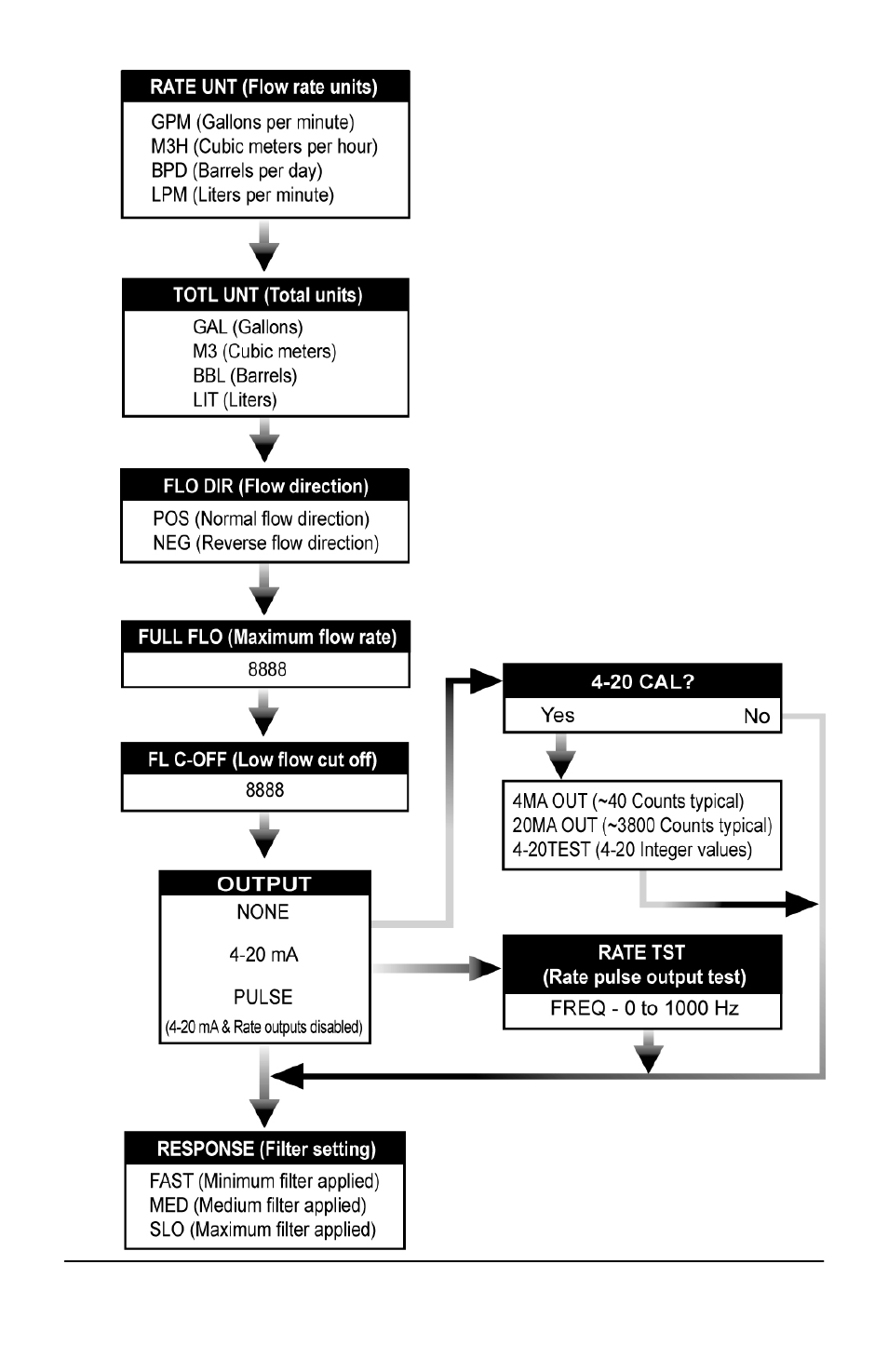
Basic Menu Map

Pages: 1 … 34 35 36 37 38 … 48
  • wrong Brand
  • wrong Model
  • non readable
See also other documents in the category Dynasonics Equipment:
  • TFXL Clamp-On Ultrasonic Flow (44 pages)
  • TFX Ultra Transit Time Flow Meters (108 pages)
  • UFX ULTRASONIC FLOW METER (16 pages)
  • 902_903 Series Portable Doppler Ultrasonic Flow Meter (48 pages)
  • DDFXD Doppler Ultrasonic Flow Meter (65 pages)
  • DXN Portable Ultrasonic Measurement System (108 pages)
  • DXN Portable Ultrasonic Measurement System Firmware Update (16 pages)
  • MFX Series Insertion MagProbe Flow Meter (88 pages)
  • PFP-600 (17 pages)
  • D7700 Series Insertion Doppler Ultrasonic Flow Meter (42 pages)
  • 701_771C Series Insertion Ultrasonic Flow Meter (50 pages)
  • 901 Series Enhanced Ultrasonic Flow Meter (45 pages)
  • D601 Series Doppler Ultrasonic Flow Meter (48 pages)
  • D300_301 Series Doppler Ultrasonic Flow Meter (38 pages)
  • TFXP Series Transit Time Ultrasonic Flow Meter (132 pages)
  • TFXM Series Ultrasonic Multi-Channel Flow Meter (107 pages)
  • WT-1 ULTRASONIC THICKNESS GAUGE (2 pages)
Home Brands Popular manuals Recently added
Manuals Directory

© 2012–2025, azmanual.top
All rights reserved.