Directory
Brands
BECKHOFF manuals
Equipment
EtherCAT Technology Section I
Manual

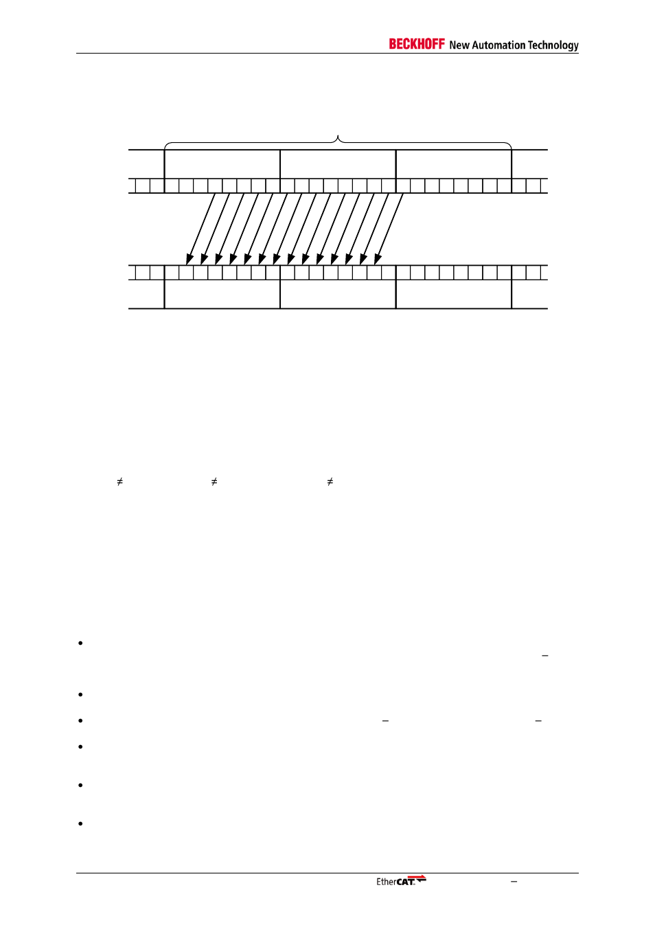
Figure 21: fmmu mapping example – BECKHOFF EtherCAT Technology Section I User Manual

Page 60

  • Text mode
  • Original mode
Figure 21: fmmu mapping example | BECKHOFF EtherCAT Technology Section I User Manual | Page 60 / 116 Figure 21: fmmu mapping example | BECKHOFF EtherCAT Technology Section I User Manual | Page 60 / 116
Pages: 1 … 58 59 60 61 62 … 116
  • wrong Brand
  • wrong Model
  • non readable
See also other documents in the category BECKHOFF Equipment:
  • EP-xxxx-xxxx (19 pages)
  • Bus Terminal System (19 pages)
  • BK2000 (30 pages)
  • LC3100 (67 pages)
  • BK4000 (28 pages)
  • BK3xx0 (95 pages)
  • BK5000 (12 pages)
  • LC5200 (32 pages)
  • BK7000 (29 pages)
  • BK7500 (32 pages)
  • BK7300 (40 pages)
  • BK8100 (26 pages)
  • BC2000 (28 pages)
  • BC3100 (51 pages)
  • BC7300 (48 pages)
  • BC8100 (36 pages)
  • BC3150 (112 pages)
  • KL1012 (2 pages)
  • KL1114 (2 pages)
  • KL1164 (1 page)
  • KL1232-xxxx (4 pages)
  • KL1501 (19 pages)
  • KL1512 (15 pages)
  • KL2521-0024 (18 pages)
  • KL2512 (21 pages)
  • KL2612 (4 pages)
  • KL2622 (9 pages)
  • KL3062 (24 pages)
  • KL3064 (20 pages)
  • KL4132 (19 pages)
  • KL4034 (25 pages)
  • KL3302 (23 pages)
  • KL3351 (18 pages)
  • KS3681 (43 pages)
  • KL4112 (18 pages)
  • KL5001 (16 pages)
  • KL5051 (17 pages)
  • KL5101-0012 (21 pages)
  • KS5111-0000 (21 pages)
  • KL5121 (19 pages)
  • KL6021 (20 pages)
  • KL6051 (17 pages)
  • Z1000 (2 pages)
  • KL6071 (12 pages)
  • Z1003 (2 pages)
Home Brands Popular manuals Recently added
Manuals Directory

© 2012–2025, azmanual.top
All rights reserved.