5 external dimensions, 1) external dimensions of the emulation pod – Renesas Emulation Pod M306H2T-RPD-E User Manual

Page 65

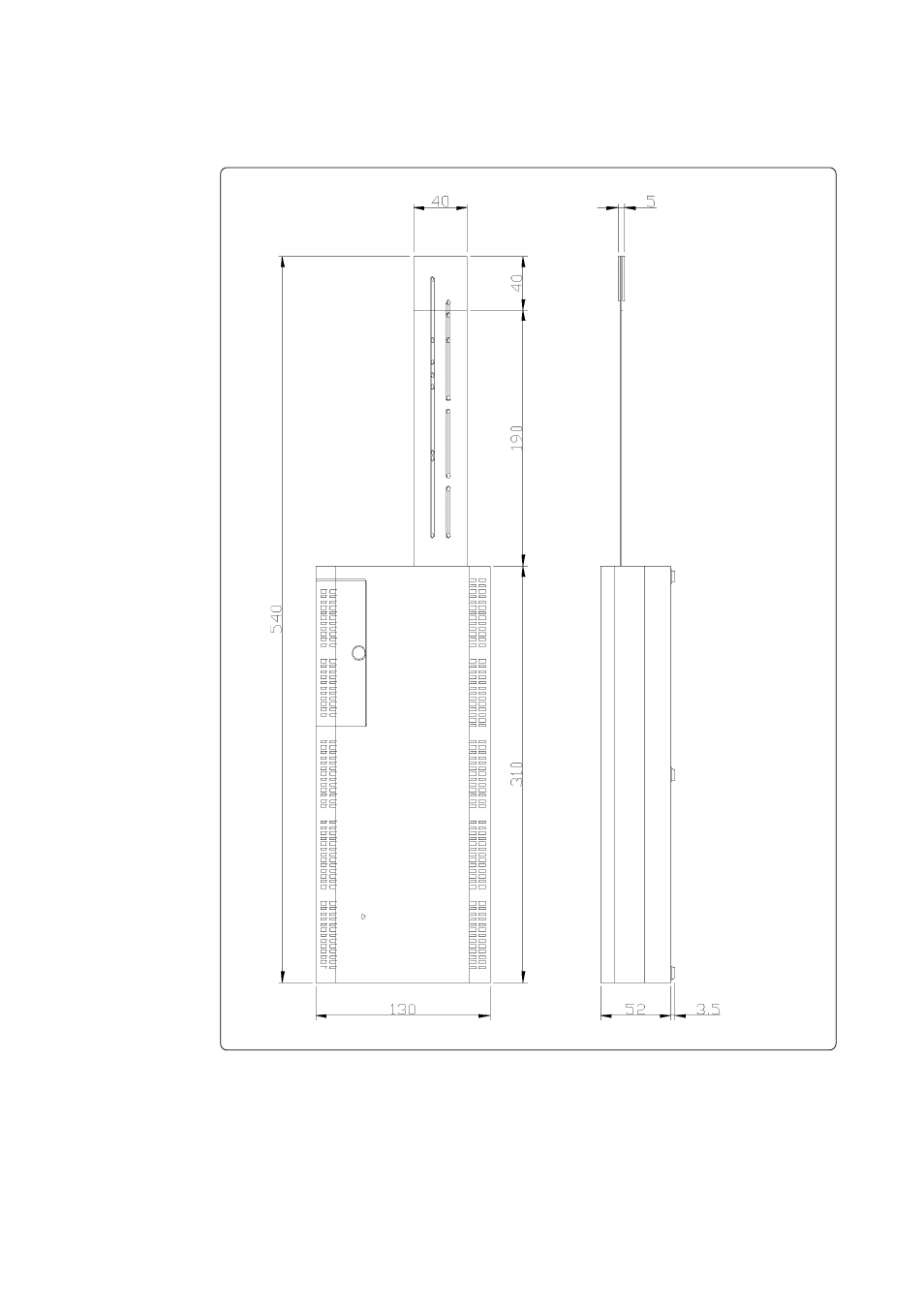
5 external dimensions, 1) external dimensions of the emulation pod | Renesas Emulation Pod M306H2T-RPD-E User Manual | Page 65 / 78 5 external dimensions, 1) external dimensions of the emulation pod | Renesas Emulation Pod M306H2T-RPD-E User Manual | Page 65 / 78