Search
Directory
Brands
RayTek manuals
Thermometers
MI Miniature Infrared Sensor
Manual
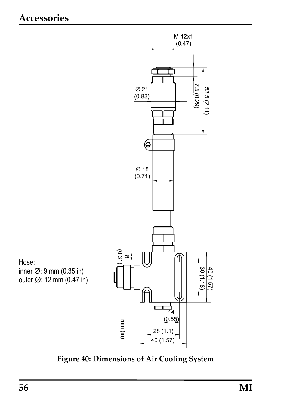
Accessories, 56 mi – RayTek MI Miniature Infrared Sensor User Manual
Page 64
Text mode
Original mode
Accessories, 56 mi | RayTek MI Miniature Infrared Sensor User Manual | Page 64 / 95
Pages:
1
…
62
63
64
65
66
…
95
wrong Brand
wrong Model
non readable
See also other documents in the category RayTek Thermometers:
Raynger ST ST20
(2 pages)
54301
(93 pages)
3i
(78 pages)
Raynger MX Series
(2 pages)