Konserwacja / czyszczenie – Silvercrest SKGE 2000 A1 User Manual
Page 29

SilverCrest EDS SKGE 2000 A1
Polski - 27
Konserwacja / czyszczenie
Konserwacja
Konserwacja jest konieczna, gdy urządzenie ulegnie uszkodzeniu, ciecz lub ciała obce
dostaną się do wnętrza obudowy, urządzenie zostanie narażone na deszcz lub wilgoć lub
gdy nie działa prawidłowo albo upadło. Jeśli zauważysz dym, dziwne dźwięki lub dziwny
zapach, natychmiast wyłącz urządzenie i odłącz kabel zasilający od gniazda zasilania. W
takich przypadkach nie wolno dalej używać urządzenia, dopóki nie zostanie ono
sprawdzone przez specjalistę. Wszystkie naprawy należy zlecać tylko wykwalifikowanym
specjalistom. Nigdy nie należy otwierać obudowy urządzenia.
Czyszczenie
Przed czyszczeniem należy wyjąć wtyk przewodu zasilającego z gniazda sieciowego,
niebezpieczeństwo porażenia prądem!
Odczekać, aż urządzenie całkowicie ostygnie. W
przeciwnym razie występuje
niebezpieczeństwo poparzenia!
Urządzenia nie wolno zanurzać w wodzie, niebezpieczeństwo porażenia prądem!
Do czyszczenia powierzchni zewnętrznych stosować czystą, lekko wilgotną szmatkę i w żadnym
przypadku nie stosować rozpuszczalników ani środków czyszczących, które mogłyby uszkodzić
tworzywo sztuczne.
Płyty grilla (3 i 6) można wyjąć do czyszczenia. W tym celu należy nacisnąć rygiel (11), by wyjąć
dolną płytę grilla (6) i rygiel (12), by wyjąć górną płytę grilla (3). Większe zanieczyszczenia
należy usunąć dołączonym skrobakiem. Płyty grilla (3 i 6) można następnie umyć ciepłą wodą z
dodatkiem środka do mycia naczyń. Następnie wypłukać płyty grilla (3 i 6) w czystej wodzie i
dokładnie wysuszyć przed ponownym zamontowaniem. W żadnym przypadku nie stosować do
czyszczenia szczotki drucianej ani innych ostrych przedmiotów.
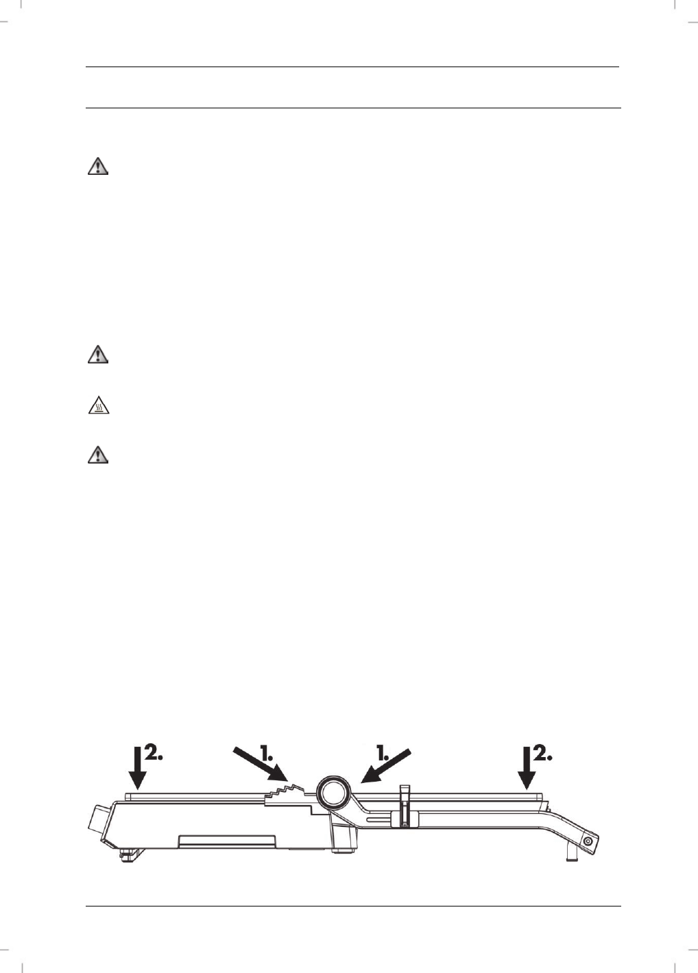
Po umyciu ponownie zamontować płyty grilla (3 i 6). Należy postępować w następujący sposób:
1. Najpierw wprowadź płyty pod kątem pod 2 noski prowadzące.
2. Lekko nacisnąć płyty grilla (3 i 6), aż się zatrzasną.
