Nikon D3S User Manual
Page 35

9
X
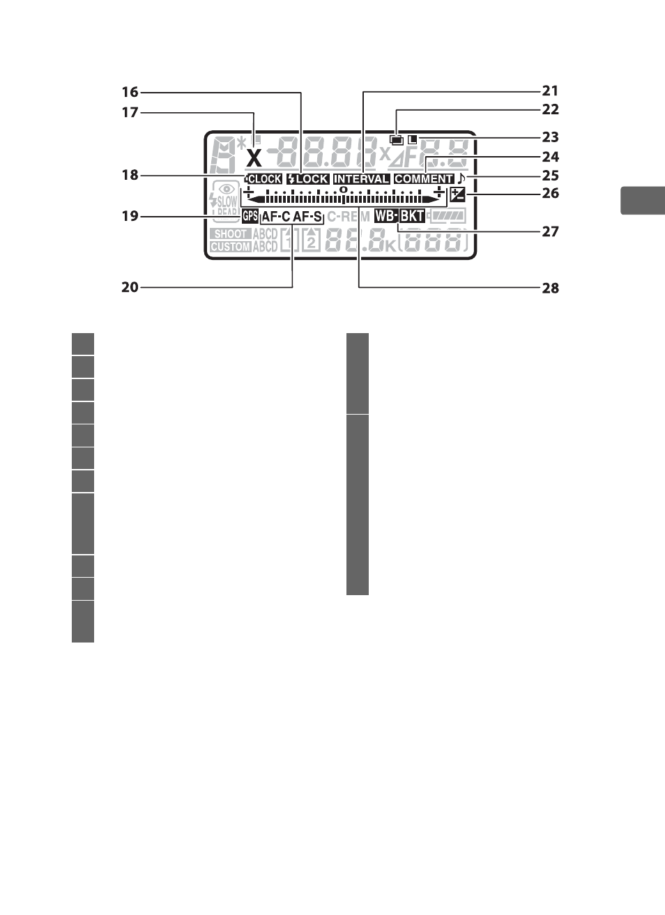
16
FV lock indicator .............................. 197
17
Flash sync indicator......................... 311
18
Clock battery indicator.............35, 386
19
GPS connection indicator.............. 219
20
Focus mode indicator........................90
21
Interval timer indicator .................. 211
22
Multiple exposure indicator.......... 203
23
Aperture lock icon ........................... 131
Multiple exposure (series)
indicator............................................. 204
24
Image comment indicator............. 331
25
“Beep” indicator............................... 306
26
Exposure compensation
indicator............................................. 134
27
Exposure and flash
bracketing indicator ........................137
WB bracketing indicator.................141
ADL bracketing indicator ...............145
28
Exposure indicator ...........................127
Exposure compensation
indicator .............................................134
Bracketing progress indicator:
Exposure and flash bracketing...137
WB bracketing................................141
ADL bracketing ..............................145
PC connection indicator .................257
Tilt indicator.......................................318