1 installazione, 1 introduzione, Avviso – SMA FLX Series PLA Option User Manual
Page 53: Attenzione

1 Installazione
1.1 Introduzione
In questo manuale vengono descritte l'installazione e la
configurazione dell'opzione PLA nell'inverter serie FLX.
L'opzione PLA collega l'inverter master FLX con, per
esempio, un ricevitore di segnale per fornire funzionalità di
gestione remota della rete di distribuzione degli impianti
FV. L'opzione PLA si collega direttamente all'uscita di un
dispositivo di controllo remoto.
L'opzione PLA dispone di 6 ingressi digitali (K1-K6). Gli
operatori della rete di distribuzione utilizzano questi
ingressi per segnalare una riduzione della potenza o
comandi del punto di regolazione della potenza reattiva.
Lo stato attuale del relè viene letto nell'inverter master e,
mediante la sua connessione Ethernet alla rete di inverter,
invia un messaggio all'inverter master. Pertanto tutte le
configurazioni della reazione a un determinato stato del
relè vengono effettuate direttamente nell'inverter master
stesso.
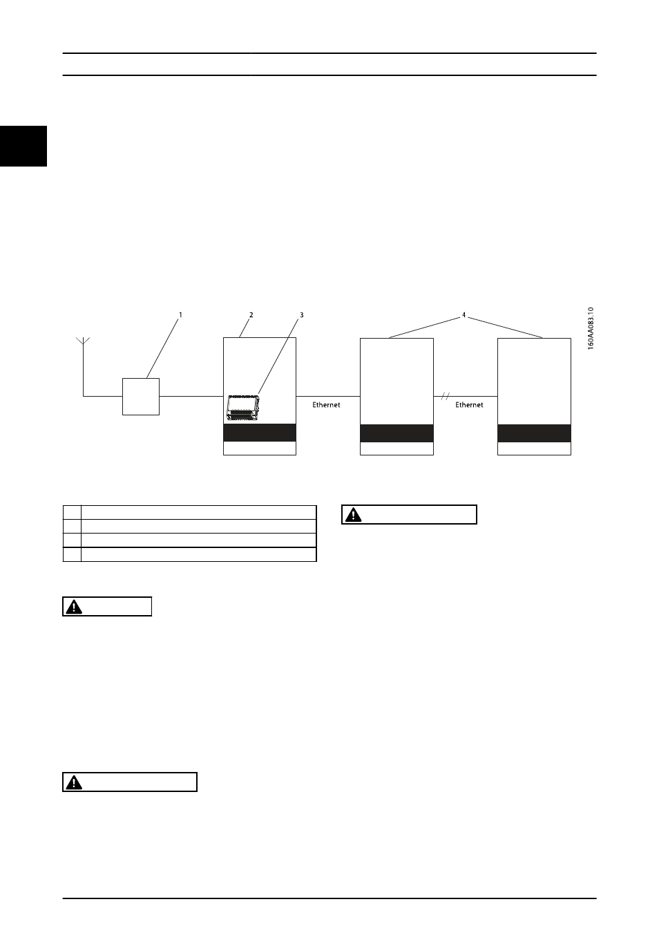
Disegno 1.1 Gestione della rete di distribuzione per la centrale fotovoltaica
1
Dispositivo di controllo remoto
2
Inverter master
3
Opzione PLA
4
Inverter asserviti
Tabella 1.1
AVVISO
Prima di iniziare a lavorare sull'inverter, disinserire la
rete CA tramite l'interruttore della rete di alimentazione
e il sistema FV mediante il sezionatore FV. Prima di
procedere, attendere almeno 8 minuti dopo lo scolle-
gamento dalla rete di distribuzione e dai pannelli FV
finché l'inverter si è scaricato completamente. Se non si
disinseriscono la rete CA e il sistema FV e non si attende
la scarica, possono prodursi lesioni personali.
L'inverter rileverà l'opzione soltanto se questa è installata
in assenza di tensione.
ATTENZIONE
Per soddisfare i requisiti del grado di protezione IP, è
essenziale che i passacavi di tutti i cavi periferici siano
montati correttamente.
ATTENZIONE
Non penetrare o aprire l'alloggiamento dell'opzione.
L'apertura o la penetrazione può avere come
conseguenza il danneggiamento dell'attrezzatura.
1.2 Installazione
Prima dell'installazione, tenere a portata di mano quanto
segue:
•
l'opzione PLA (fornita in dotazione);
•
il manuale (fornito in dotazione);
•
il passacavo (fornito in dotazione);
•
una chiave inglese per serrare il passacavo;
•
un cacciavite.
Installazione
52
L00410649-02_2q / Rev. date: 2014-06-20
1
1