Getting started 04 – Pioneer DVR-330-S User Manual
Page 31

Getting started
04
31
En
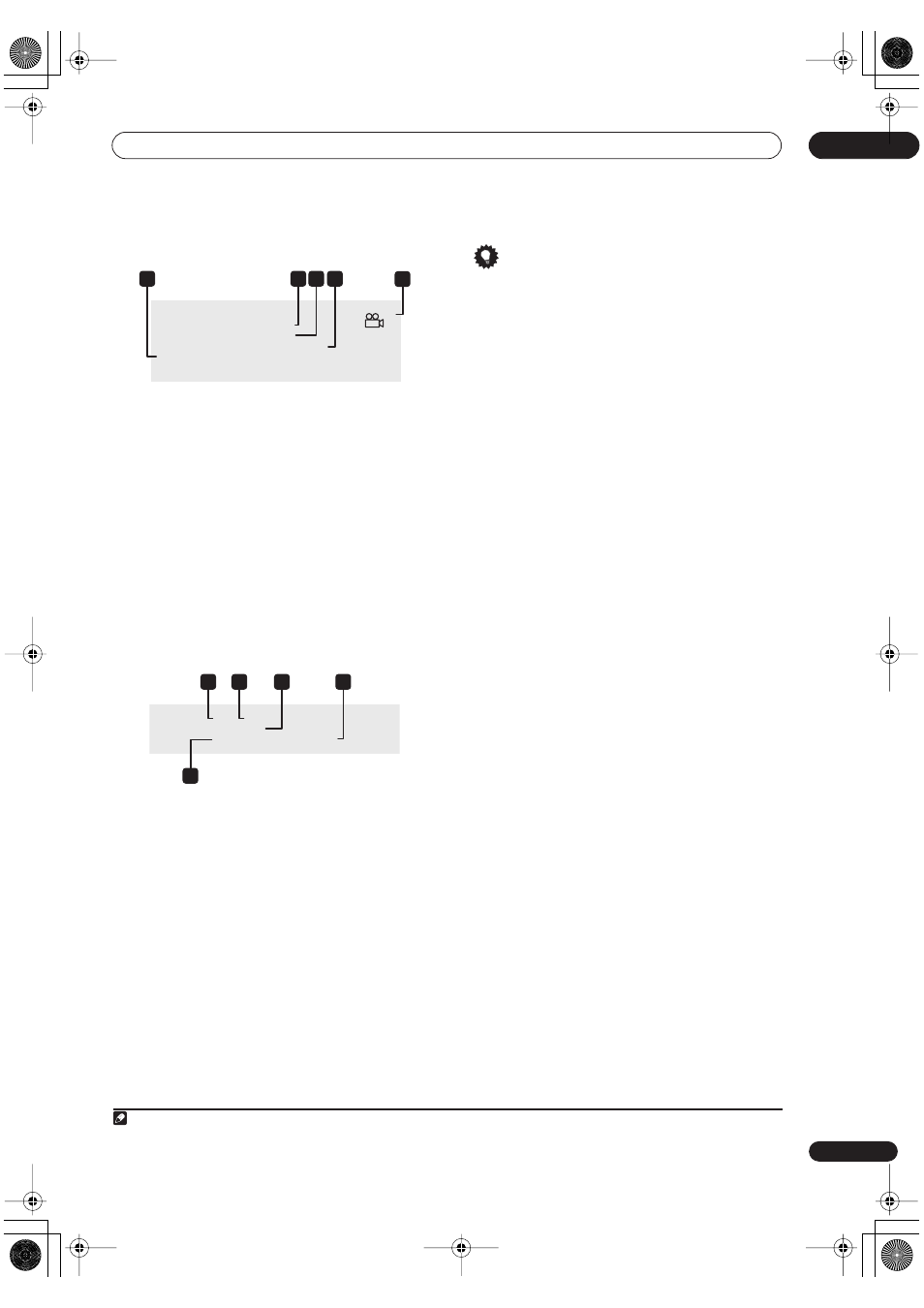
Play display 2
1
Chase playback, simultaneous record/playback,
copy, disc back-up
Indicates that recording, copying or back-up is in
progress.
2
Elapsed chapter time
3
Total running time of chapter
4
Data transfer rate
Shows the current data rate being read from the disc.
1
5
Copy protected material (!) / PureCinema
indicator (#)
Shows ‘
!
’ if the playback material is copy-once protected.
Shows ‘
#
’ if the current video is 24 fps, progressive scan.
Recording display
1
Current title number
2
Elapsed recording time
3
Timer recording start and stop times
Shows the start and stop times if the current recording is
a timer recording.
4
Remaining recording time available
Shows the amount of space left on the disc in the current
recording mode.
5
Recording mode
Shows the current recording mode (
XP
,
SP
,
LP
, etc.), and
the total recording time of the disc.
Tip
• When using the simultaneous play and record
feature, the display shows information for playback
only.
• The Video mode disc displays become the same as a
DVD-Video disc once the disc is finalized.
• The total recording time figure shown in parenthesis
is calculated based on a 12cm/4.7GB disc at the
displayed record setting.
• Recording and playback times for TV recordings are
approximately 0.1% shorter than the actual time. This
is because of the slightly different frame rates of TV
broadcasts versus DVD.
• The frame number is shown next to the elapsed time
display when the disc is paused.
•
Copy Once
or
Can’t Record
messages may appear
in the stop or recording displays. These indicate that
the broadcast TV program contains copy control
information.
Note
1.Data transfer rate shows the amount of video and audio information recorded on the disc. It is not an indication of picture/audio quality.
Play
DVD-R Video
Title Name
21/11 Football match
:
Chapter Total
Chapter Time
3–2
0. 00. 15
!
0. 00. 21
0. 01. 52
4.32Mbps
Hi-Speed Copy
5
2 3
4
1
ì Rec
DVD-R Video
XP (1h00m/DVD)
Rem.
0h35m
21:00 – 22:00
3
0. 00. 15
Copy Once
Stereo
ABC Pr 1
5
1
2
3
4
DVR-330_RL.book 31 ページ 2005年3月1日 火曜日 午後10時47分