Search
Directory
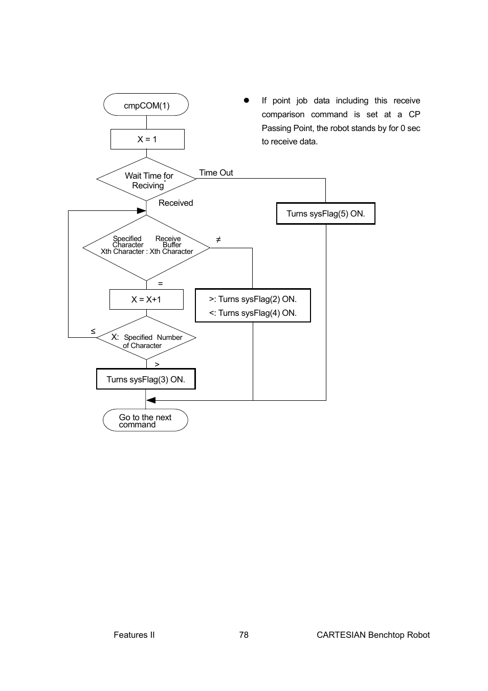
Brands
Loctite manuals
Toys
CARTESIAN 400
Manual
Loctite CARTESIAN 400 User Manual
Page 96
Text mode
Original mode
Loctite CARTESIAN 400 User Manual | Page 96 / 106
Pages:
1
…
94
95
96
97
98
…
106
wrong Brand
wrong Model
non readable
This manual is related to the following products:
CARTESIAN 300
CARTESIAN 200
CARTESIAN 500