Mounting – GAI-Tronics 400-003 IEC / ATEX Zone 1 RigCom Station User Manual
Page 3

Pub. 42004-460A
Model 400-003 IEC/ATEX Zone 1 RigCom Station
Page: 3 of 16
f:\standard ioms - current release\42004 instr. manuals\42004-460a.doc
09/12
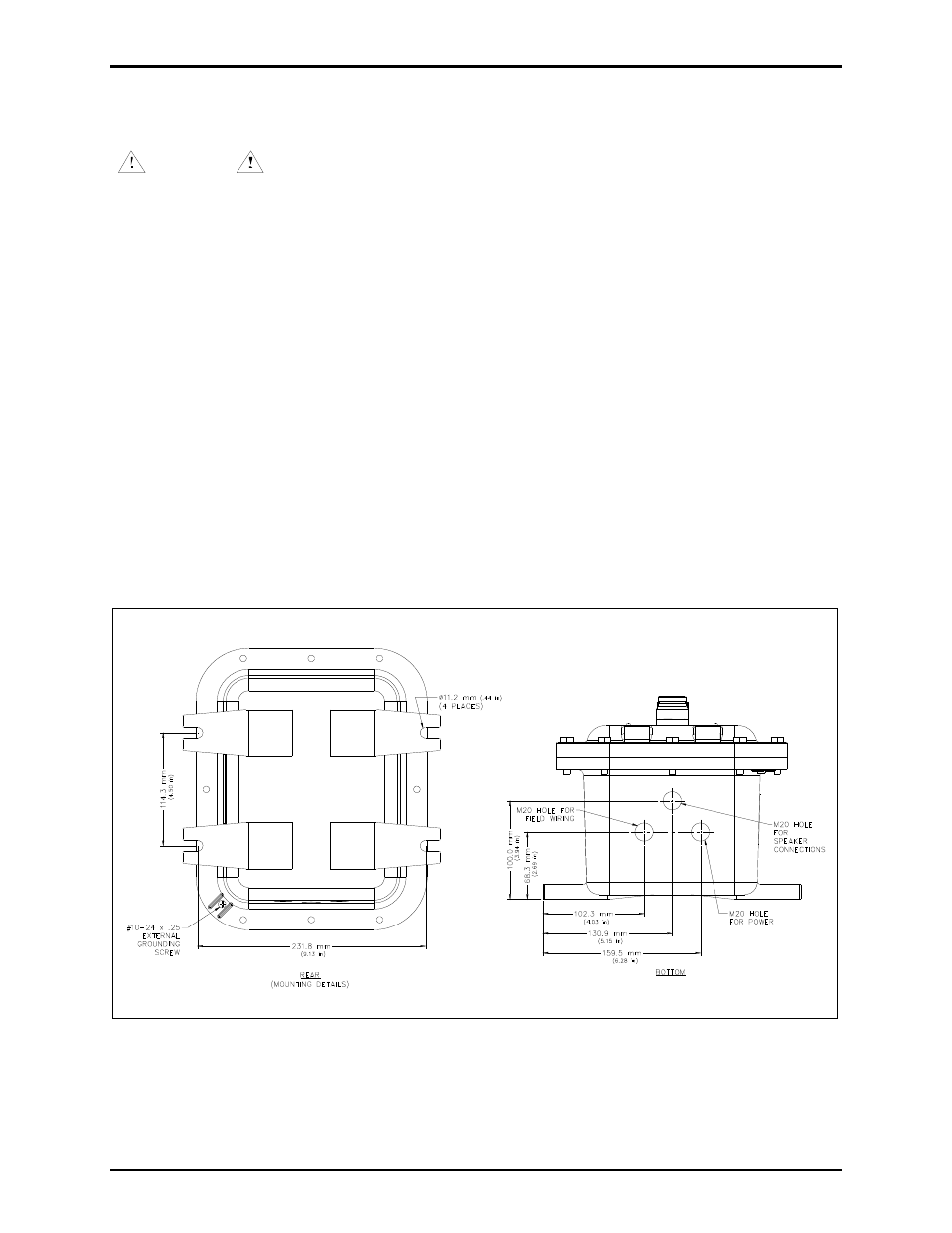
Securely fasten the enclosure to the mounting location, using (customer-supplied) 11-mm (7/16-inch)
diameter steel mounting bolts and washers, or washer head bolts.
WARNING
Insure proper grounding to protective earthing.
Do not disconnect equipment while energized.
Inspect and clean the machined flange flame joint surfaces of both the cover and box. Surfaces must be
smooth, free of nicks, scratches, dirt or any foreign particle build-up that would prevent a proper seal.
Surfaces must seat fully against each other to provide a proper explosion-proof joint. Clean surfaces by
wiping with a clean lint-free cloth.
Make certain no cover bolts are omitted. Use only those bolts supplied with the enclosure.
Recommended torque setting of cover bolts 17 ft-lbs. (23 N-m).
Mounting
N
OTE
: The mounting surface must be able to support the weight of the aluminum enclosure. The unit
weight is 23.0 lbs. (10.5 kg).
The enclosure must be securely fastened with 11-mm (7/16-inch) diameter steel mounting bolts located
on all four mounting feet. Stainless steel hardware is recommended for applications in corrosive
environments. Refer to Figure 2 for mounting dimensions.
Figure 2. Model 400-003 Mounting Details and Entries
