Sensing input types, Sensing input types -3, Figure 3-6. type a sensing -3 – Basler Electric BE1-32R User Manual
Page 31: Figure

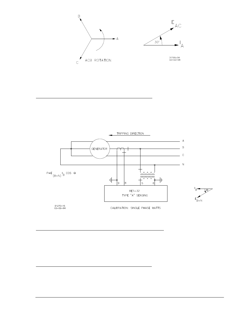
Figure 3-5. Type B or V Sensing with ACB Rotation
Sensing Input Types
The following paragraphs describe the current and voltage sensing types available in BE1-32R and BE1-
32O/U relays.
Type A Sensing: Single-Phase Current and Single-Phase Voltage
In three-phase, four-wire circuits, relays with type A sensing calculate the power flowing in the tripping
direction by monitoring line-to-neutral voltage and a single phase of current. Relays with type A sensing
can also be applied in a three-phase, three-wire system using phase-to-ground voltages. Type A sensing
configurations are not phase rotation sensitive. The range switch for this sensing type is calibrated in
single-phase watts. Figure 3-6 illustrates the type A sensing configuration.
Figure 3-6. Type A Sensing
Type B and V Sensing: Single-Phase Current and Single-Phase Voltage
In three-phase, three-wire circuits, relays with type B or type V sensing calculate the power flowing in the
tripping direction by monitoring the line-to-line voltage and a single phase of current. The power equation
assumes balanced conditions. Because the input voltage leads the input current by 30 degrees
(assuming unity power factor), a 30 degree lagging phase shift network is designed into the voltage input
circuit. Type B or V sensing configurations are sensitive to phase rotation. The range switch of this
sensing type is calibrated in single-phase watts. Figure 3-7 illustrates the type B/V sensing configuration.
Type C Sensing: Single-Phase Current and Three-Phase Voltage
In three-phase, three-wire circuits, relays with type C sensing calculate the power flowing in the tripping
direction by monitoring three line-to-line voltages and a single phase of current. The relay measures
actual power even if the system voltages are not balanced. Therefore, the power equation using E
AVE
is
approximate. Type C sensing configurations are not sensitive to phase rotation. The range switch of this
sensing type is calibrated in three-phase watts. Figure 3-8 illustrates the type C sensing configuration.
9171100990 Rev T
BE1-32R, BE1-32O/U Functional Description
3-3