MSD 8523 AMC V8 Ready to Run Distributor Installation User Manual
Page 6

6
INSTALLATION INSTRUCTIONS
M S D I G N I T I O N
• W W W . M S D I G N I T I O N . C O M • ( 9 1 5 ) 8 5 7 - 5 2 0 0 • FA X ( 9 1 5 ) 8 5 7 - 3 3 4 4
INSTALLING THE DISTRIBUTOR
1. Remove the existing distributor cap without disconnecting any of the spark plug wires.
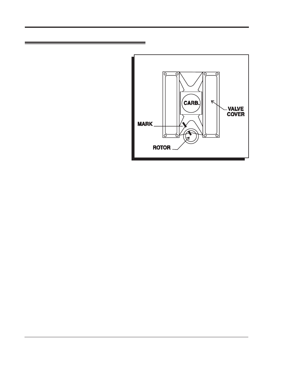
2. With the cap off, crank the engine until
the rotor is aimed at a fixed point on the
engine. Note this position by making a
mark (Figure 10).
3. Place the distributor cap back on and
note which plug wire the rotor is pointing
to. MARK THE SPARK PLUG WIRES and
remove the distributor cap.
4. Disconnect the wiring from the distributor.
5. Loosen the distributor hold-down clamp,
slide the clamp out of the way and lift the
distributor out of the engine.
6. Install the supplied gasket seal in the
groove on the distributor land. Apply a
thin layer of oil to the housing gasket.
7. Apply a liberal amount of the supplied
break-in lubricant to the gear.
8. Install the distributor making sure that the
rotor comes to rest pointing at the fixed
mark. If the distributor will not fully seat with the rotor pointing to the marked position, you may
need to rotate the oil pump shaft until the rotor lines up and the distributor fully seats.
9. Position and tighten the hold-down clamp onto the distributor.
10. Install the rotor and distributor cap. It is recommended to use a drop of Blue Loctite on the
distributor cap hold down bolts.
11. Install the spark plug wires from the old cap one at a time to ensure correct location.
12. Connect the supplied wiring harness to the distributor. Route the wires to their connections as
shown in Figure 11.
13. Page 8 shows how to set the rev limiter and connect the tachometer.
Figure 10 Marking the Rotor Location.
