7controls and connections – Drake SCT4860 8PSK Sat-1024QAM Cable Transcoder User Manual
Page 7

7
Controls and Connections
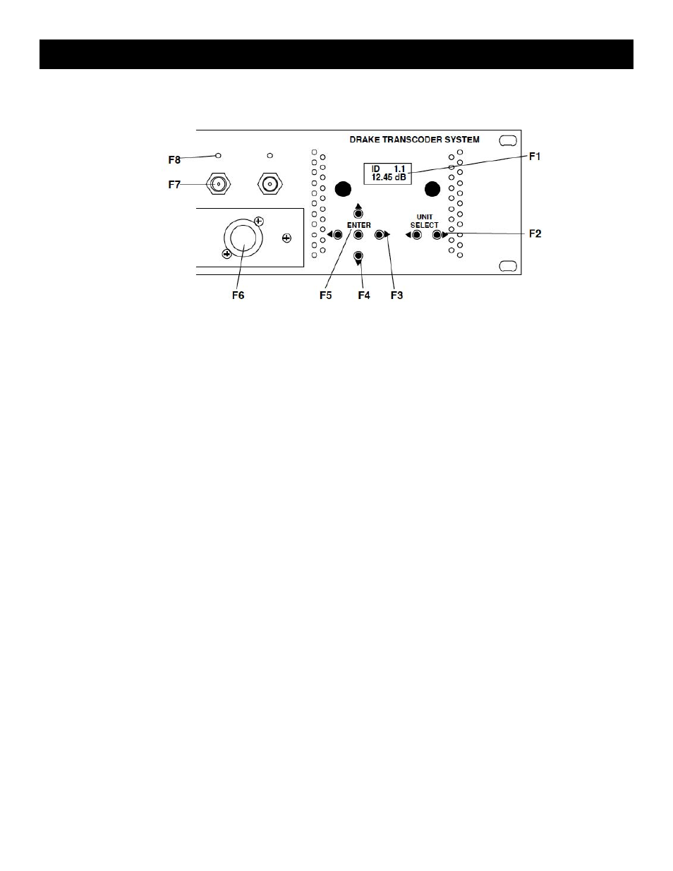
Front Panel Controls and Indicators
F1 - LCD Display - this displays the PS151 or selected transcoder parameter and its setting.
F2 -UNIT SELECT (Left) and (Right) Buttons - these select either the PS151 power supply or one of ten
SCt4860 transcoders. information from the selected unit will be displayed on the LCD display for parameter
adjustment. When either button is pressed once, the LeD of the selected transcoder will blink for about 3 seconds,
but the unit selected will not change. the second press within 3 seconds will increment ( ) or decrement ( ) to the
next higher or lower numbered unit. the PS151 power supply menu falls between transcoder numbers 10 and 1.
F3 - (Left) and (Right) Buttons - use the left or right buttons to navigate from screen to screen to view a
parameter setting. this will not alter any settings. if in the adjust mode, stop at the parameter you wish to adjust
and use the (up) and (down) buttons to adjust.
F4 - (Up) and (Down) Buttons - use the up and down arrows to adjust a parameter value when in the adjust
mode. When not in the adjust mode, pressing the (up) button will display the software version readout, and
pressing the (down) button will display the qAm modulation output baud rate readout.
F5 - ENTER - use the eNteR button to enter the adjust mode or to save and load a new setting or settings. Hold
for 2 seconds until the display flashes to enter the adjust mode. After adjustment using the up or down arrow
buttons, press again to save and load the new settings. you may save one parameter at a time after it is adjusted
or wait until all adjustments are made and press to save and load all at once.
F6 - FAN - one of five front panel cooling fans. to ensure proper cooling, do not block these openings.
F7 - L BAND INPUTS - these are the L band inputs from the LNB. the level must be between -70 and -25 dBm
the L band frequency range will be in the 950 to 2150 mHz range.
F8 - LED - the LeD on each SCt4860 will blink on and off for approximately 3 seconds when that unit is selected.
When in the adjust mode, it will blink continuously. When in the normal mode, it will be lit continuously whenever
power is applied.
