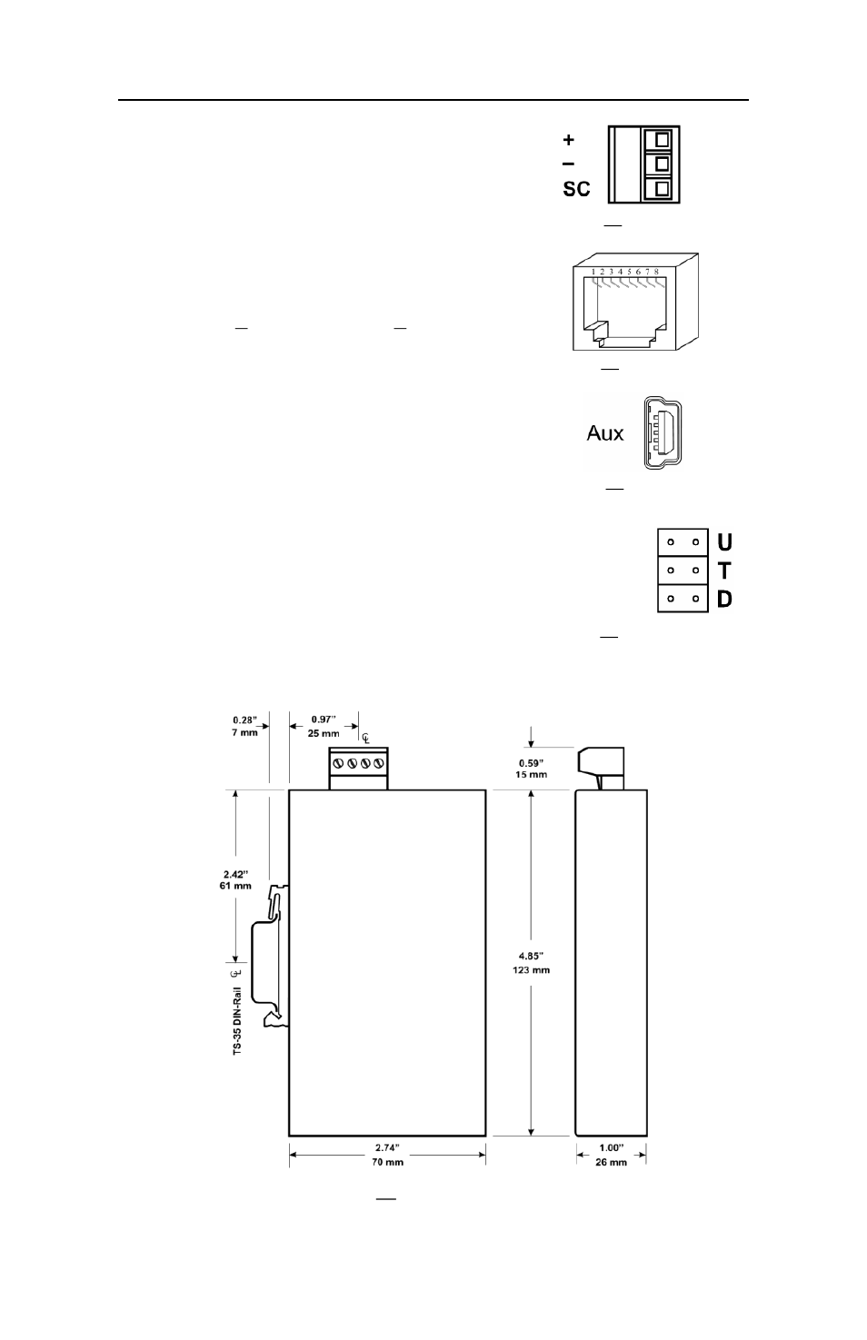
7 connectors, 8 mechanical – Contemporary Control Systems BASrouter Installation Guide (Firmware 2.x) User Manual
Page 6
This manual is related to the following products:
See also other documents in the category Contemporary Control Systems Hardware:
- AI-FR Redundant Fibre Hubs (9 pages)
- AI Active Hubs (40 pages)
- AI-SRVR Servers to Ethernet Installation Guide (12 pages)
- AI-USB Adapters (12 pages)
- AI-SRVR Servers to Ethernet User Manual (20 pages)
- PCX20 Adapters (16 pages)
- MODHUB Active Hubs (32 pages)
- PCI20EX Adapters (12 pages)
- QuickLink Active Hubs (8 pages)
- USB222 Adapters (8 pages)
- BAScontrol20 Installation Guide (16 pages)
- BASgatewayLX (16 pages)
- BASremote Installation Guide (20 pages)
- BAScontrol20 User Manual (53 pages)
- BASremote Application Guide (13 pages)
- BASremote User Manual (firmware 2.x) (78 pages)
- BASrouter Portable Installation Guide (Firmware 2.7.x) (20 pages)
- BASrouterLX Successful BASrouter Installation and Operation (3 pages)
- BASrouterLX Installation Guide (12 pages)
- BASrouterLX Application Guide (20 pages)
- CAN104 (8 pages)
- CANPCI (8 pages)
- BASview (81 pages)
- Compact Unmanaged Switches (4 pages)
- EIBA BAS Unmanaged Switches (4 pages)
- EIDX Managed Automation Switches Installation Guide for PoE Models (8 pages)
- EIPR Wired/Wireless VPN Router Installation Guide (4 pages)
- EIDX Managed Automation Switches Software Manual for Console Access (80 pages)
- EISK Managed Skorpion Switches Software Manual (83 pages)
- EIS UL864-Compliant Switches (8 pages)
- EISC Configurable Switches Installation Guide (8 pages)
- EISK Skorpion Switches EISK8-GT (4 pages)
- EISK Managed Skorpion Switches Installation Guide (4 pages)
- EIPR Wired/Wireless VPN Router Application Guide (14 pages)
- EISC Configurable Switches User Manual (36 pages)
- EISK Skorpion Switches EISK5-100T/FCS (4 pages)
- BACnet Cube I/O BMT-DI4 (3 pages)
- BACnet Cube I/O BMT-DI10 (3 pages)
- BACnet Cube I/O BMT-AI8 (4 pages)
- BACnet Cube I/O BMT-SI4 (3 pages)
- BACnet Cube I/O BMT-DO4 (3 pages)
- BACnet Cube I/O BMT-AO4 (3 pages)
- Sedona (27 pages)
- BACnet Cube I/O BMT-DIO4/2 (4 pages)
