BUG-O Systems CB-1P User Manual
Page 32

32
SETUP INSTRUCTIONS FOR CW-5 / CB-1P USED IN SPRINKLER FABRICATION
INSTALLING CARRIAGES AND MACHINES ON THE MONORAIL
Assemble carriages and put them on the rail.
The CW-5 welder is put on the carriage that is nearest to the welding power source and the CB-1P cutter nearest to
the plasma power source.
Put the CB-1P cutter machine on the 8" pipe in the stands and bring the carriage to the machine. Lower the shaft
coupling over the main shaft on the cutter. Ensure that shaft is fully inserted into the shaft coupling. Rotate the machine
so that the plasma leads are in front and parallel to the carriage and tighten the set screws in the shaft coupling to
secure the main shaft to the vertical slide assembly.
Next put the CW-5 welder on the 8" pipe and bring its carriage to it. Lower the shaft coupling down over the main
shaft. Rotate the machine so that the welding lead on top of the machine will be on your left. This will put the electrical
connector on the right. Tighten the set screws in the shaft coupling to secure the main shaft to the vertical slide assembly.
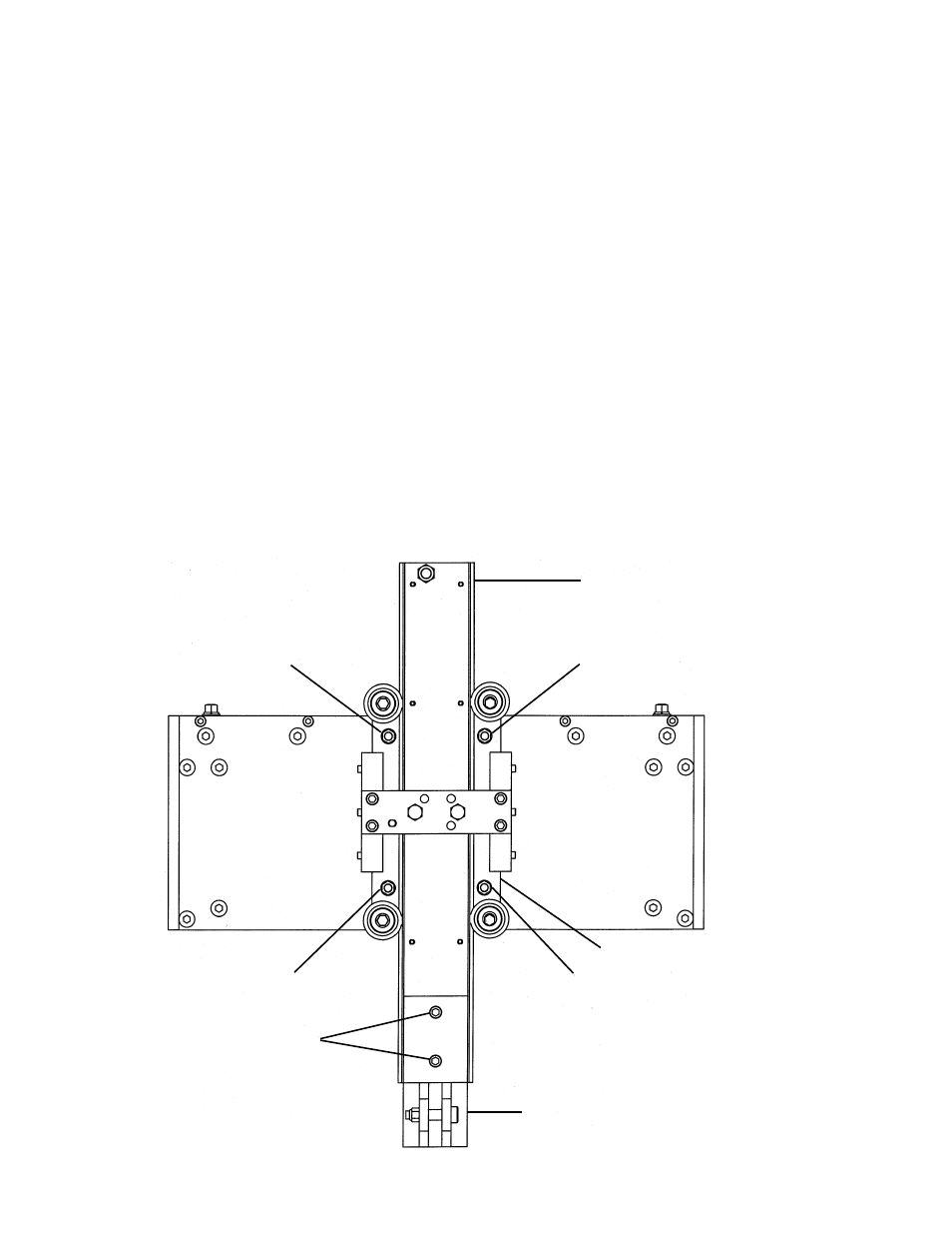
It is important for the machines to hang plumb. Left to right adjustments are made by loosening the two bolts that
connect the shaft coupling to the vertical rail. Front to back adjustments are done by adjusting the position of the
vertical rail support plate. Move the plate by adjusting the eight nuts on the four studs.
Note: Once machines are plumb verify that the machines are centered over the pipe stand.
CARRIAGE ADJUSTMENT
FRONT TO BACK ADJUSTMENT
FRONT TO BACK ADJUSTMENT
FRONT TO BACK ADJUSTMENT
FRONT TO BACK ADJUSTMENT
LEFT TO RIGHT ADJUSTMENT
VERTICAL RAIL
VERTICAL RAIL SUPPORT PLATE
SHAFT COUPLING
