Installation instructions, Light bulb installation – Dacor EH36 User Manual
Page 44

14
Installation Instructions
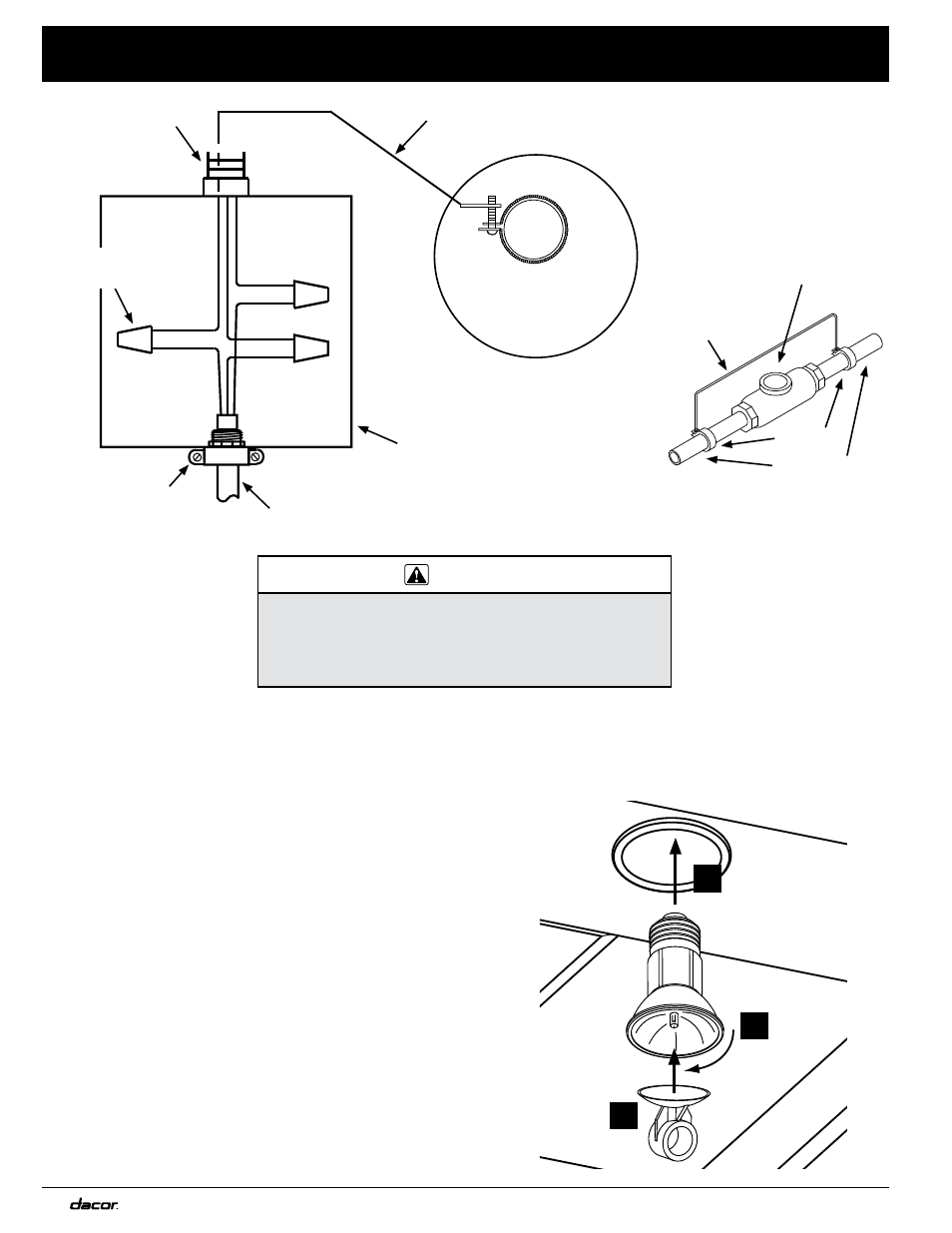
insulated pipe Jumper
(if necessary)
GREEN
GREEN
WHITE
WHITE
BLACK
BLACK
grounding the hood wiring using
an external cold water pipe
wArning
Do not ground the circuit to a gas line.
•
Do not ground the circuit to a hot water pipe.
•
Water lines that are insulated must be jumped to
•
assure continuity to ground. See above.
UL/CSA approved
NEMA strain relief
Fasten clamp tightly
on pipe
Separate No. 10 (minimum)
copper ground wire
To house circuit breaker
panel or fuse box
To range hood
Wire Nut,
3 places
Junction Box
Meter
Clamps
Bare metal
No. 4 copper
wire
Light Bulb Installation
Attach the included suction cup to one of the provided
1.
light bulbs.
Insert it into one of the light fixtures.
2.
Screw it into place and remove the suction cup.
3.
Repeat for the remaining light fixtures.
4.
2
3
1