Installation instructions – Dacor EH36 User Manual
Page 43

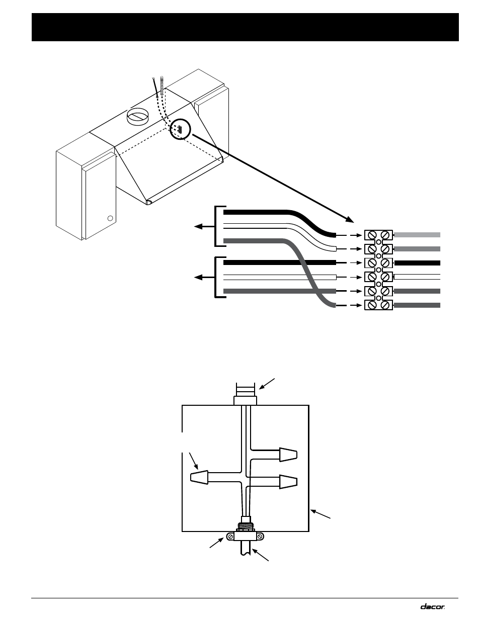
13
N2
N1
Gnd
L2
L1
Gnd
(Green)
(Green)
(White)
(Black)
(Blue)
(Red)
Installation Instructions
To junction
box
Hood Power
Terminals
Ground
Ground
Neutral
Neutral
Hot
Hot
To remote/
in-line blower
Connect the wiring to the remote/in-line blower and the
6.
power supply line from the junction box as shown.
GREEN
GREEN
WHITE
WHITE
BLACK
BLACK
3 wire connection to Junction Box
UL/CSA approved
NEMA strain relief
To house circuit breaker
panel or fuse box
To range hood
Junction Box
Wire Nut,
3 places
Connect the hood wiring to an electrical junction box
7.
on a dedicated circuit. See page 6 for specifications.
Connect it according to the 3-Wire Connection to
Junction Box method shown or External Ground
Method shown on the following page.