Alert – Weil-McLain BMC-6X User Manual
Page 19

19
BMC and BMC-6X Installation and Operation Manual
SYSTEM SETTINGS
Button: MENU/
enhanced comfort and more fuel savings. The BMC behaves differently based on the selected
Control Modes (see Startup Settings).
BACK
SELECT
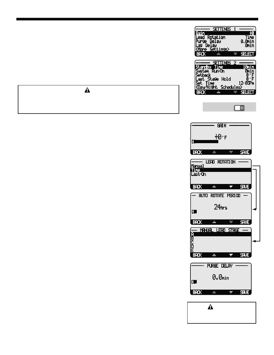
---------- SETTINGS 1 ----------
Gain
+0
Lead Rotation
Time
Purge Delay
0.0min
Lag Delay
0min
BACK
SELECT
---------- SETTINGS 2 ----------
Standby Time
10min
System Run-On
0min
Setback
0 F
Last Stage Hold
0 F
Set Time
12:03Pm
RUN
PROGRAM
• Gain
• Lead
Rotation
• Purge
Delay
• Lag
Delay
• Standby
Time
• System
Run-On
• Setback
•
Last Stage Hold
• Day/Night
Schedules
ALERT
To be able to change the BMC settings the Program/Run Switch must be set to
Program. The switch is located under the Enclosure Wiring Cover for security.
The Enclosure Wiring Cover can be securely closed using a lock.
GAIN
Adjustable from -10 to +10
Default: 0
Button: MENU/
The Gain adjusts the aggressiveness of the BMC PID logic to control how much
modulation is changed when the system temperature is different from the Set Point.
•
A Gain of 0 is a good starting point for all systems.
•
If during normal load conditions, the system temperature tends to oscillate significantly,
decrease the Gain by two numbers (for example, from 0 to -2). Wait for at least 15
minutes before evaluating how the change has affected the system.
•
If during normal load conditions the system temperature tends to remain consistently
below the Set Point (or consistently above the Set Point), increase the Gain by two
numbers (for example, from 0 to 2). Wait for at least 15 minutes before evaluating how
the change has affected the system.
BACK
SAVE
---------------- GAIN --------------
+0
F
[]
BACK
SAVE
-------- LEAD ROTATION -------
Manual
Time
Last-On
BACK
SAVE
---- MANUAL LEAD STAGE ----
A
B
C
D
E
BACK
SAVE
--- AUTO ROTATE PERIOD ---
24
hrs
[]
LEAD BOILER ROTATION
Adjustable Manual, Time (1 hr to 60 Days), Last-On
Default: Time (24Hours)
Button: MENU/
The Lead Boiler is the first boiler brought on when output is required.
•
The Lead Boiler can be rotated automatically, manually or based on Last-On. The
automatic rotation is recommended.
•
The current Lead Boiler is shown in brackets on the main display.
•
Only boilers which are set to Auto Mode can be Lead. Therefore, not all the boilers may
be available when manually selecting a new Lead Boiler.
PURGE DELAY
Adjustable from 0.0min to 10.0min
Default: 1.0min
Button: MENU/
Many boilers go through a purge cycle before they are brought on line.
•
When the BMC activates a boiler, it does not start to calculate its output until the Purge
Delay is over. This allows the boiler to fully come online and begin producing output.
•
The Purge Delay helps prevent short cycling of a newly activated burner. Once the
burner is activated, it MUST run through the entire Purge Delay period.
•
The minimum Purge Delay setting MUST be set to the time required by the boiler
manufacturer. Time entry is in 0.1 of a minute (i.e. 1.5min will equal 90 seconds.)
•
The Message Display Line will display Purge Delay and the amount of time remaining
in the purge.
BACK
SAVE
--------- PURGE DELAY ---------
0.0
min
[]
ALERT
Set Purge Delay as per boiler
manufacturer recommendation.
