Ajuste del cronómetro – HP PL5000N User Manual
Page 247

Uso de los menús
Uso de los menús
43
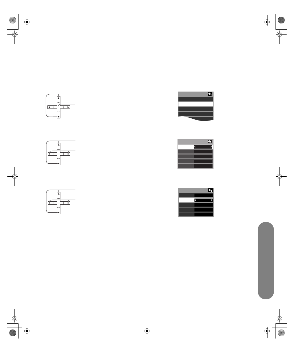
Ajuste del cronómetro
El reloj debe estar puesto en hora antes de efectuar los
ajustes de hora encendido u hora de apagado.
Canal
1
2
Día
Elementos de día seleccionables: DOM, LUN,
MAR, MIE, JUE, VIE, SAB, LUN-VIE, SAB-DOM,
DIARIO, C/U DOM, C/U LUN, C/U MAR, C/U MIE,
C/U JUE, C/U VIE, C/U SAB.
Pulse para seleccionar Cronómetro 1–
Cronómetro 5.
Pulse para acceder a la pantalla de ajuste del
Cronómetro.
SELECT
Cronómetro
Apagado
Cronómetro 1
Cronómetro 2
Cronómetro 3
Pulse para seleccionar CNL.
Pulse para ajustar CNL.
SELECT
310 - 1
C/U MIE
10:00 AM
11:00 AM
No
Cronómetro 1
CNL
Día
Encender
Apagar
Fijar
Pulse para seleccionar Día.
Pulse para seleccionar el día correspondiente.
SELECT
310 - 1
C/U MIE
10:00 AM
11:00 AM
No
Cronómetro 1
CNL
Día
Encender
Apagar
Fijar
mb5pohtvP.book Page 43 Wednesday, July 6, 2005 10:30 AM