Fig.8 – Sealey AP02WC User Manual
Page 4

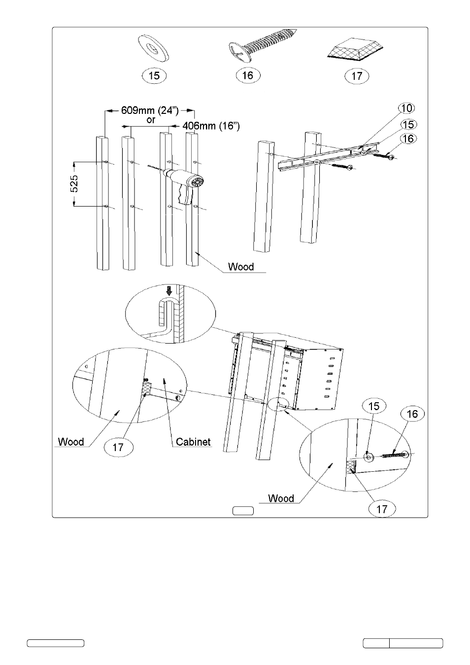
Fig.8
3.4
Mounting the Cabinet Wall mounting. Wood Frame or Masonry Wall.
3.4.1 Peel off the backing paper from the two bumper pads (17) and attach to the lower back section of the cabinet.
3.4.2 Using the wall bracket (10) as a guide mark out centres for the holes to be drilled. Check markings with a level and use a metal/stud
detector to ensure that there are no cables or metal in the area to be drilled.
3.4.3 Drill the holes as required.
3.4.4 Using appropriate fasteners, secure the wall bracket to the wall.
3.4.5 Hang the wall cabinet onto the wall bracket, open the doors and locate the holes at the bottom of the back panel. Mark the hole
centres on the wall. Remove cabinet and drill the wall, insert wall fixings as required, replace cabinet and screw to the wall using
screws (16) and washers (15).
AP02WC Issue: 2(L) - 15/07/14
Original Language Version
© Jack Sealey Limited
- SA0615 (7 pages)
- SAC2203B (6 pages)
- SAC2203B (8 pages)
- SAC2203B (6 pages)
- SSC12710D (14 pages)
- SAC0610E (4 pages)
- SAC10030 (4 pages)
- SSC11003 (9 pages)
- SAc3503B (6 pages)
- SSQC2409 (4 pages)
- SSQC2409 (4 pages)
- SSQC2409 (5 pages)
- SA1565 (5 pages)
- SA5055 (4 pages)
- SAC3203B3PH (6 pages)
- SAC72775BLN (6 pages)
- SAC55075B (5 pages)
- SAC03290 (3 pages)
- SAC05020 (4 pages)
- SAC106B (3 pages)
- SAC2203BLN (6 pages)
- ADB3000 (2 pages)
- SAC89025VLN (6 pages)
- CBOX2212V (1 page)
- PW2000 (5 pages)
- PW1712 (3 pages)
- PW4000 (4 pages)
- PW2500 (5 pages)
- PW5000 (5 pages)
- PWM1300 (7 pages)
- PWM2500SP (6 pages)
- LC300ST (2 pages)
- LC800ST (2 pages)
- LS1050V (4 pages)
- LS575VH (3 pages)
- LS520H (3 pages)
- LS450H (2 pages)
- LSH180V (2 pages)
- TP16 (1 page)
- TR3000 (2 pages)
- TP17 (2 pages)
- AK460DX (3 pages)
- AK466D (2 pages)
- TP69 (2 pages)
- TP6906 (3 pages)
