Buttonholes, Step 1, Step 2 – SINGER 7025 User Manual
Page 58
Attention! The text in this document has been recognized automatically. To view the original document, you can use the "Original mode".

Buttonholes
Recommended settings
Stitch Selection: Buttonhole Stitch
Stitch Width: Pre-set
Foot: Buttonhole (L)
Needle Plate: General Purpose (A)
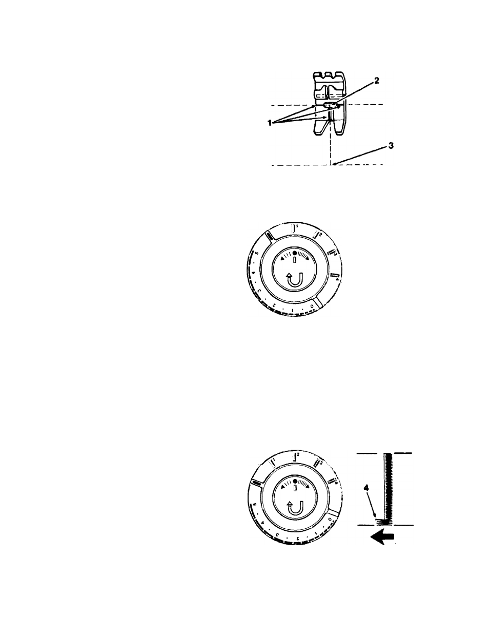
Step 1
• Raise presser foot.
• Place fabric under foot.
• Centre 3 red guidelines (1) of foot around
beginning line of buttonhole.
• Turn buttonhole dial to the buttonhole symbol
(1) for the first step.
• Position needle in fabric at point (2) by
turning the hand wheel towards you.
• Stitch down to point 3.
\
\
7
Step 2
• Raise needle out of fabric.
• Turn buttonhole dial to the buttonhole symbol
(2) for the second step.
• Make at least four stitches, ending at point (4).
66