Dell PowerEdge 2600 User Manual
Page 34
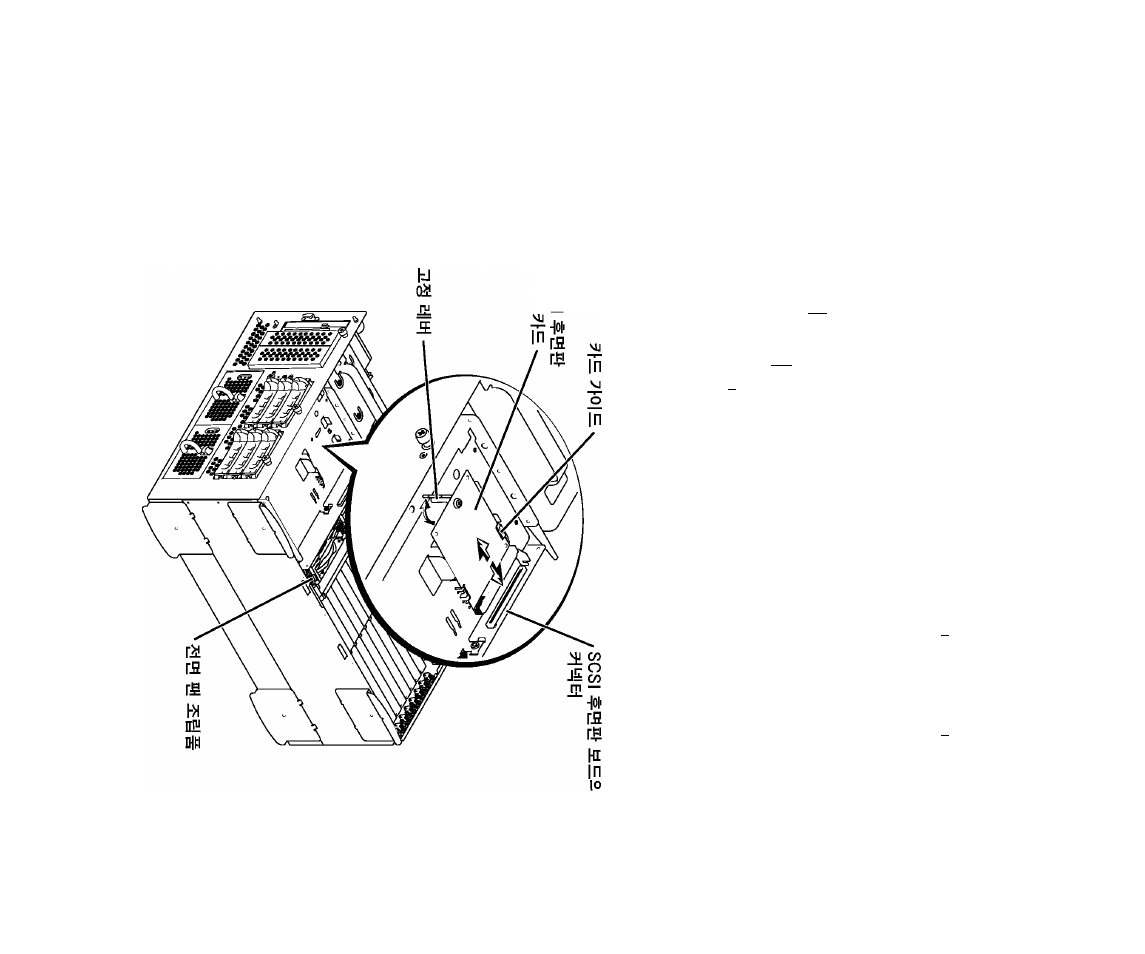
Attention! The text in this document has been recognized automatically. To view the original document, you can use the "Original mode".

ГО
05
сл
о
сл
-loll
ri
(д
HH сл
U
DE
03
сл
О
сл
Но||
Ш
ГВ
KI
НИ
Ш
ÉL
»■
^ ы
-В' oài
_¿L ^
i
Ы [Ulm
И Л
¿f
^ [Ulm
К>^
^ сл
ufi ^°^'
I гВ
^ Jcü
üL
[UË
о1й
ы
in
Ч|
ш
[Ulm
Ш
о
ш
lu>
i
iü
Ith
lo
ln hfi
in
[Ulm
in
^ Jji
о о
i2 1°"
rlr
41 °lh
iä
m
io iS
ih
Д1 Id
■
Ü
rlr
lUH'
Ы t^'lr -i
oh rio oh
^ -ÇL
dio
lo
1>
>i£
Г-й
V
lij,
[U£
dffl
—' _o
Й
l>i Jim
rlr m Ü
hi [ulm СЛ
j
!?1; jh w
П
О d§
03 -T^
I m
hi
i2
Ü
lt£
rh
oli ith
dh Jh
l>i iÜ
Id
lÆ
m
Jim
ifi lÆ
m Bu
41 4J
^
in
m
rlr
^ in
1Æ ili
IB ^
ifi In:
m ^
[Ulm _£
jh
>h
-\o
-¡ur
ÜL rid
rü ^
Ji i;£
dio rlr
rB iB
ÜI m
[ulm 41
о
m
Jlh
rh
>
о
ьi
Ь,
ф
Ü.
Д1
BV
ой
-Bi
Ith
lo
A HSL
[Uh üi
hi [ulm
ih r-ld
r-ld
Üi
[lih
[uh
oh
¥
üi
4
nSL
r-liC
ÜL
dB
IB
-Bi
Ith
lo
ÜL
-Bi
Ith
lo
- PowerEdge RAID Controller H700 (178 pages)
- PowerEdge RAID Controller H700 (56 pages)
- PowerEdge RAID Controller H700 (200 pages)
- PowerVault TL2000 (2 pages)
- PowerVault TL4000 (2 pages)
- PowerVault TL2000 (176 pages)
- PowerVault TL2000 (16 pages)
- PowerVault TL2000 (3 pages)
- PowerVault TL2000 (116 pages)
- PowerVault 130T DLT (Tape Library) (49 pages)
- PowerVault TL2000 (1 page)
- PowerVault 110T DLT VS80 (Tape Drive) (49 pages)
- PowerVault TL2000 (22 pages)
- PowerVault TL4000 (306 pages)
- PowerEdge 800 (28 pages)
- PowerEdge 800 (58 pages)
- PowerEdge 800 (87 pages)
- PowerEdge 800 (24 pages)
- PowerEdge 800 (82 pages)
- PowerEdge 800 (2 pages)
- PowerEdge 800 (27 pages)
- PowerEdge 6400 (86 pages)
- PowerVault 124T (73 pages)
- PowerVault 124T (65 pages)
- PowerVault 124T (4 pages)
- PowerVault 124T (79 pages)
- PowerVault 124T (2 pages)
- PowerVault 124T (64 pages)
- PowerVault 124T (56 pages)
- PowerVault 124T (66 pages)
- PowerVault 124T (57 pages)
- PowerVault 110T LTO (Tape Drive) (28 pages)
- PowerVault 124T (55 pages)
- PowerVault TL4000 (3 pages)
- PowerVault TL4000 (176 pages)
- PowerVault TL4000 (2 pages)
- PowerVault TL4000 (16 pages)
- PowerVault TL4000 (116 pages)
- PowerVault TL4000 (1 page)
- PowerVault TL4000 (66 pages)
- PowerVault TL4000 (22 pages)
- PowerEdge RAID Controller 6i (120 pages)
- PowerEdge RAID Controller 6i (156 pages)
- PowerVault 715N (Rackmount NAS Appliance) (44 pages)
- PowerVault 715N (Rackmount NAS Appliance) (30 pages)