Data sheet, Functional block diagram, Ordering information – Diodes AUR9713 User Manual
Page 3

Data Sheet
1.5MHz, 1A, STEP DOWN DC-DC CONVERTER AUR9713
Mar. 2012 Rev. 1. 1 BCD Semiconductor Manufacturing Limited
3
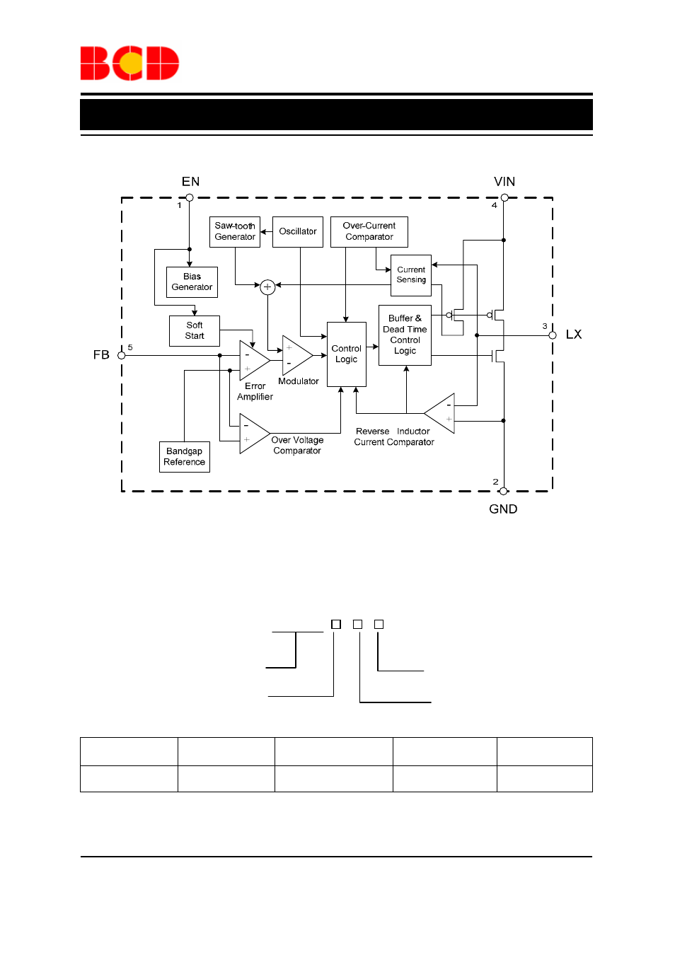
Functional Block Diagram
Figure 3. Functional Block Diagram of AUR9713
Ordering Information
AUR9713
Circuit Type
A: Adjustable Output
Package
Temperature
Range
Part Number
Marking ID
Packing Type
TSOT-23-5
-40 to 80°C
AUR9713AGH
9713AG
Tape & Reel
BCD Semiconductor's Pb-free products, as designated with "G" in the part number, are RoHS compliant and
green.
Package
H: TSOT-23-5
G: Green
See also other documents in the category Diodes Hardware:
- PDS3200 (5 pages)
- PDS340 (5 pages)
- PDS340Q (5 pages)
- PDS360 (5 pages)
- PDS360Q (5 pages)
- PDS4150 (4 pages)
- PDS3100Q (5 pages)
- PDS3100 (5 pages)
- PDS1240CTL (5 pages)
- PDS1045 (5 pages)
- PDS1040L (5 pages)
- PDS1040CTL (5 pages)
- PDS1040 (5 pages)
- PD3S230L (5 pages)
- PD3S230H (3 pages)
- PDS5100Q (5 pages)
- PDS835L (5 pages)
- PDS760 (5 pages)
- PDS560 (5 pages)
- PDS540 (5 pages)
- PDS5100H (5 pages)
- PDS5100 (5 pages)
- PDS4200H (6 pages)
- SBL3060CTP (4 pages)
- SBL30L30CT (3 pages)
- SBL3045CTP (4 pages)
- SBL3040CTP (4 pages)
- SBL2060CTP (4 pages)
- SBL2030CT - SBL2060CT (3 pages)
- SBL2045CTP (4 pages)
- SBL1060CTP (4 pages)
- SBL1040CTP (4 pages)
- SBG3030CT - SBG3045CT (5 pages)
- SB520 - SB560 (3 pages)
- SB370 - SB3100 (3 pages)
- SB320 - SB360 (3 pages)
- SBR10U100CT (5 pages)
- SBR10U150CT (5 pages)
- SBR10A45SP5 (5 pages)
- SBR1060CT (5 pages)
- SBR1045SP5 (5 pages)
- SBR1045SD1 (4 pages)
- SBR1045D1 (5 pages)
- SBR1045CTL (4 pages)
- SBR1040CT (5 pages)
