Directory
Brands
Asus manuals
Computer hardware
DSBF-D16/SAS
Manual

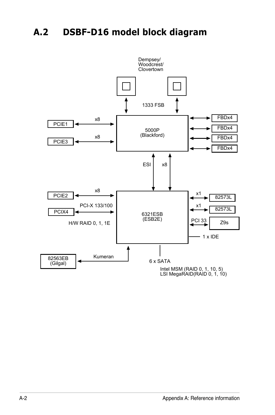
A.2 dsbf-d16 model block diagram – Asus DSBF-D16/SAS User Manual

Page 202

  • Text mode
  • Original mode
A.2 dsbf-d16 model block diagram | Asus DSBF-D16/SAS User Manual | Page 202 / 202 A.2 dsbf-d16 model block diagram | Asus DSBF-D16/SAS User Manual | Page 202 / 202
Pages: 1 … 197 198 199 200 201 202
  • wrong Brand
  • wrong Model
  • non readable
This manual is related to the following products:
  • DSBF-D16
See also other documents in the category Asus Computer hardware:
  • AP2500 (40 pages)
  • AP1700-S5 (58 pages)
  • RS700-E6/ERS4 (138 pages)
  • AP1600R-E2(AA2) (150 pages)
  • P7F-E (162 pages)
  • RS161-E4/PA2 (126 pages)
  • RS163-E4/RX4 (11 pages)
  • M2N-LR (113 pages)
  • P5BV/SAS (184 pages)
  • K8N-DRE (142 pages)
  • RS161-E5/PA2 (124 pages)
  • LSI SAS3442X-R (68 pages)
  • ESC4000/FDR G2 (200 pages)
  • PIKE 2208 (16 pages)
  • ESC4000 (162 pages)
  • ESC4000 (22 pages)
  • PSCH-SR/IDE (102 pages)
  • P9D-M (156 pages)
  • RS740-E7-RS24-EG (212 pages)
  • P5M2-E/4L (12 pages)
  • ESC2000 G2 (226 pages)
  • TS700-E6/RS8 (166 pages)
  • RS160-E3/PS4 (140 pages)
  • PU-DLS (134 pages)
  • TR-DLSR (100 pages)
  • P5BV-C/2L (161 pages)
  • TS100-E5/PI4 (166 pages)
  • ESC1000 Personal SuperComputer (184 pages)
  • NRL-LS (120 pages)
  • PCI-DA2200 (369 pages)
  • P8C WS (140 pages)
  • RS120-E4/PA4 (174 pages)
  • P5MT-M (150 pages)
  • TS Mini (114 pages)
  • TS Mini (2 pages)
  • TS Mini (112 pages)
  • P5MT-MX/C (156 pages)
  • AP140R-E1 (52 pages)
  • AP140R-E1 (132 pages)
  • ASMB6-iKVM (114 pages)
  • DSBF-D16/SAS (200 pages)
  • RS160-E5 (164 pages)
  • Z8PE-D12X (168 pages)
  • Z8PE-D12X (170 pages)
Home Brands Popular manuals Recently added
Manuals Directory

© 2012–2025, azmanual.top
All rights reserved.