Clock, Mode date, Time – HP Pavilion PE4200N User Manual
Page 30: Time zone

22
HP Pavilion Plasma TV User’s Guide
Clock
Mode
Date
Valid when Mode is set to manual.
Time
Valid when Mode is set to manual.
Time zone
Valid when Mode is set to Auto.
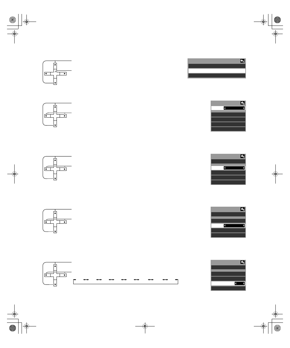
Press to select Clock.
Press to display the clock adjust screen.
SELECT
First time setup
Language
Clock
Auto program
Press to select Mode.
Press to select Manual or Auto.
Manual: Registers the time set by user.
Auto: Updates the clock time by extracting time information
from the digital broadcast.
SELECT
Clock
Mode
Date
Time
Time zone
DST
Manual
4 / 1 / 2005
9 : 43 AM
EST
On
Press to select Date.
Press and release immediately to change the day; press and
hold to change the month.
SELECT
Clock
Mode
Date
Time
Time zone
DST
Manual
4 / 1 / 2005
9 : 43 AM
EST
On
Press to select Time.
Press to adjust Time.
If the button is held, the speed of change increases.
SELECT
Manual
4 / 1 / 2005
9 : 43 AM
Clock
Mode
Date
Time
Time zone
DST
EST
On
Press to select Time zone.
Press to select your zone.
SELECT
AST
EST
CST
MST
PST
AKST
HST
NST
Manual
4 / 1 / 2005
9 : 43 AM
Clock
Mode
Date
Time
Time zone
DST
EST
On
mb5poetv.book Page 22 Wednesday, June 29, 2005 12:42 PM