Reloj, Modo fecha, Hora – HP Pavilion PE4200N User Manual
Page 194: Huso horario

24
Guía del usuario del televisor de plasma HP Pavilion
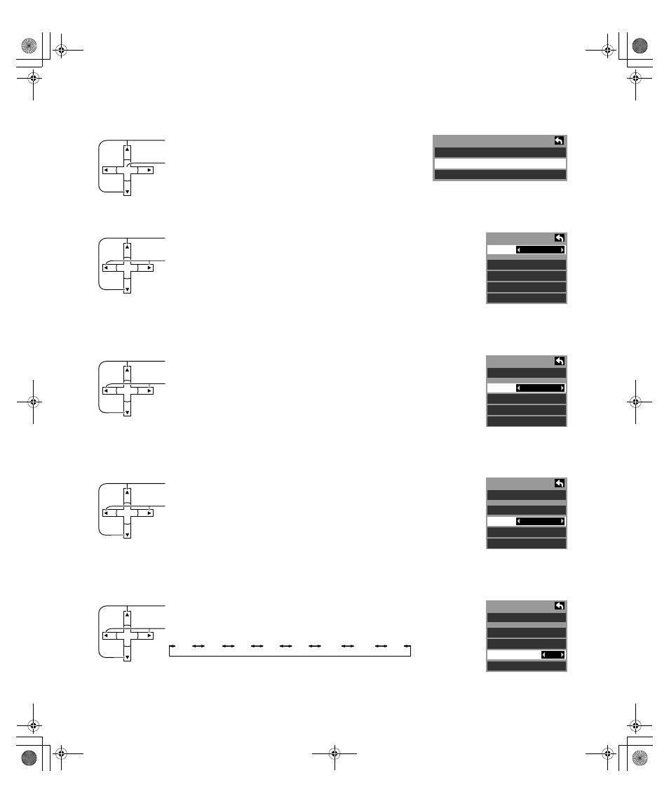
Reloj
Modo
Fecha
Válido cuando el Modo está ajustado a manual.
Hora
Válido cuando el Modo está ajustado a manual.
Huso horario
Válido cuando el Modo está ajustado a Auto.
Pulse para seleccionar el Reloj.
Pulse para ver la pantalla de ajuste del reloj.
SELECT
Ajuste inicial
Idioma
Reloj
Programa auto
Pulse para seleccionar el Modo.
Pulse para seleccionar Manual o Auto.
Manual: Registra la hora fijada por el usuario.
Auto: Actualiza la hora del reloj extrayendo información de la
hora de la emisión digital.
SELECT
Reloj
Modo
Fecha
Hora
Huso hor.
H. Verano
Manual
4 / 1 / 2005
9 : 43 AM
EST
Si
Pulse para seleccionar la Fecha.
Pulse y suelte inmediatamente para cambiar el día; pulse y
mantenga para cambiar el mes.
SELECT
Reloj
Modo
Fecha
Hora
Huso hor.
H. Verano
Manual
4 / 1 / 2005
9 : 43 AM
EST
Si
Pulse para seleccionar la Hora.
Pulse para ajustar la Hora.
Si se mantiene pulsado el botón, el cambio se produce a
mayor velocidad.
SELECT
Manual
4 / 1 / 2005
9 : 43 AM
Reloj
Modo
Fecha
Hora
Huso hor.
H. Verano
EST
Si
Pulse para seleccionar el Huso horario.
Pulse para seleccionar su zona.
SELECT
AST
EST
CST
MST
PST
AKST
HST
NST
Manual
4 / 1 / 2005
9 : 43 AM
Reloj
Modo
Fecha
Hora
Huso hor.
H. Verano
EST
Si
mb5poetvP.book Page 24 Thursday, June 30, 2005 4:20 PM