Acerca de, Restaurar – HP Pavilion PE4200N User Manual
Page 219

Us
o d
e
los
menú
s
Uso de los menús
49
Acerca de
Muestra la versión del televisor y la licencia de
software.
Restaurar
Pulse para seleccionar Barra lateral.
Pulse para seleccionar Apagado, Bajo, Medio, Alto.
SELECT
Off
Alto
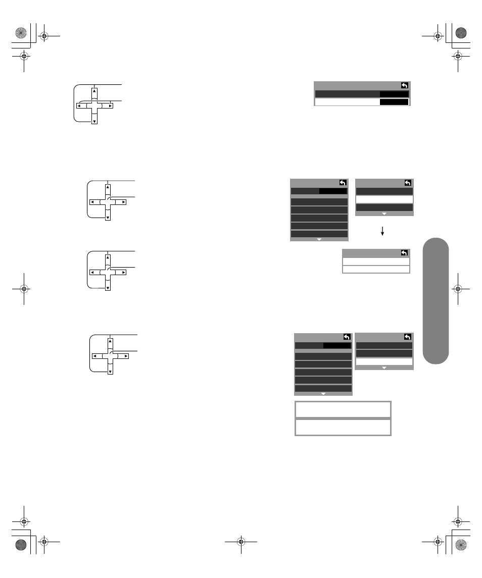
Otros Ajustes
Autoencendido
Barra lateral
1
Pulse para seleccionar Acerca de.
Pulse para ver la pantalla Acerca de.
2
Pulse para seleccionar Versión o Licencia.
Pulse para ver la Versión o Licencia.
SELECT
Fav.
Ajuste
Canales
Idioma
Reloj
Programa canal
Títulos de ent.
CC
Ajuste
Otros ajustes
Acerca de
Restaurar
SELECT
off
Acerca de
Versión
Licencia
1
Pulse para seleccionar Restaurar.
Pulse para ver la pantalla Contraseña.
2
Introduzca su contraseña pulsando las teclas
numéricas del mando a distancia para restaurar
los parámetros de Ajuste.
Aparece la pantalla de confirmación.
3
Seleccione Sí, y pulse Select (seleccionar).
SELECT
Fav.
Ajuste
Canales
Idioma
Reloj
Programa canal
Títulos de ent.
CC
Ajuste
Otros ajustes
Acerca de
Restaurar
Ingresar contraseña.
- - - -
mb5poetvP.book Page 49 Thursday, June 30, 2005 4:20 PM