V. installation instructions – Digi-Star TCX-1000 SERIES User Manual
Page 22

D3556 05/29/03 REV. 2.2
Copyright 2001
22
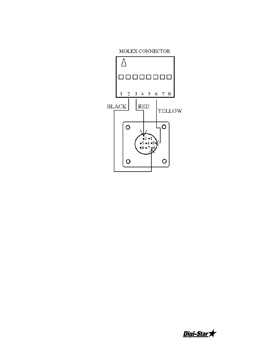
Red = Tx to Printer
Yellow = Busy Signal to 1300 From Printer
V. INSTALLATION INSTRUCTIONS
A.
SHEILD TERMINATION OF CABLE
Entering the TCX 1300 indicator enclosure should be a shielded cable
and have its shield terminated in the following fashion:
Strip the cable jacket (outer insulation) back so that a 1 inch length of the shield wire is exposed.
Preserve approximately 1 inch of the shielding foil, if possible.
Crimp and solder the appropriate pin gender to the shield lead. Insert the pin into an available
amp connector plug hole.
Crimp and solder the mating pin to a 12” long, 22 gauge insulated wire and inset the pin into the
matching stud/screw inside the enclosure. Termination may be made either by wrapping the wire
around the stud or by installing a lug on the wire
B.
CONNECTING D.C. POWER
TB3
1 GROUND (Direct to Battery)
2 + 12 Volt D.C. Power input (Direct to Battery)
- ERM-2.4 (11 pages)
- Analog Output EZIII (8 pages)
- ICP 300 (14 pages)
- DataLink (11 pages)
- DataLink (39 pages)
- Cab Control 2.4 (10 pages)
- RD 4000 (4 pages)
- RD 440 (4 pages)
- RD 2500 (5 pages)
- SLC 2400 (22 pages)
- RD 2400 (4 pages)
- Cab Control 400 (9 pages)
- DataKey Docking Station USB Drivers (2 pages)
- Data Downloader (DDL) (3 pages)
- EZ2400 (29 pages)
- EZ2500 (26 pages)
- EZ3400VL (33 pages)
- EZ 3600 Manual DataKey (50 pages)
- EZ3400(V) (40 pages)
- EZ3400(V) (43 pages)
- EZ400 (29 pages)
- EZ 3500 Operators Manual (22 pages)
- EZ 3600 USB Manual (52 pages)
- GT400 (26 pages)
- EZ 4600 Manual DataKey (51 pages)
- EZ 4600 Manual USB (53 pages)
- GT460 (48 pages)
- NT 460 (45 pages)
- GT465 (39 pages)
- SW2600EID (46 pages)
- Stockweigh 300 (23 pages)
- SW300 (17 pages)
- ST 3400 (46 pages)
- SW600 (24 pages)
- StockWeigh 550 EID (38 pages)
- SW4600EID (45 pages)
- CC400 (9 pages)
- TST7600 with TMR Tracker (51 pages)
- AGCO - White 8531 (14 pages)
- Case IH 1260 – 32/36 (12 pages)
- Case IH 1260 – 32/36 (12 pages)
- Case IH 1250 - 12/16/24 (18 pages)
- Diet Manager Set-up & User Guide (17 pages)
- Downloader Module (7 pages)
- Diet Manager Full Guide (28 pages)