Directory
Brands
Trebor manuals
Pumps
960D Mega
Manual

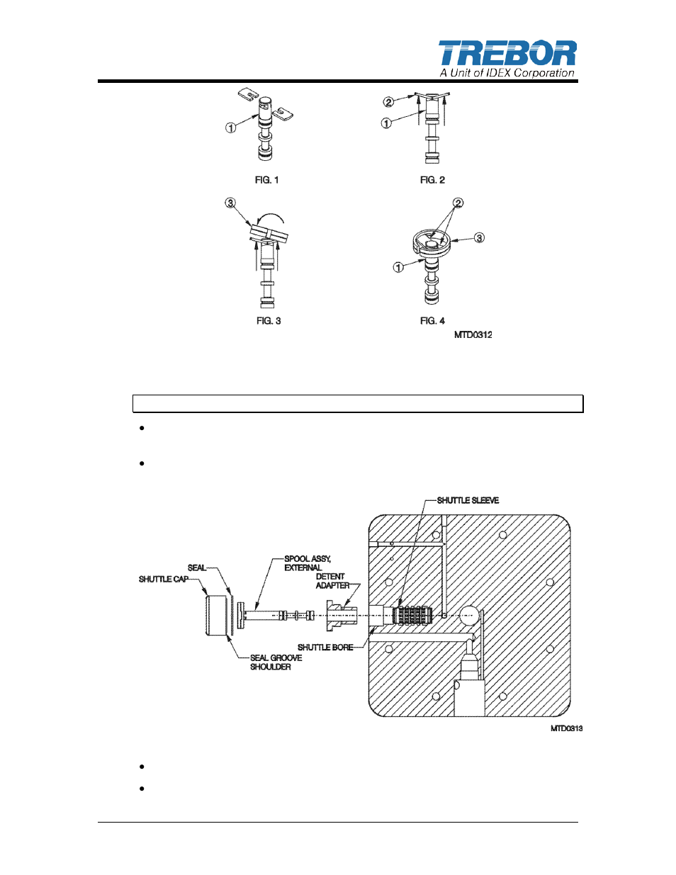
C shuttle assembly (master head) – Trebor 960D Mega User Manual

Page 19

  • Text mode
  • Original mode
C shuttle assembly (master head) | Trebor 960D Mega User Manual | Page 19 / 28 C shuttle assembly (master head) | Trebor 960D Mega User Manual | Page 19 / 28
Pages: 1 … 17 18 19 20 21 … 28
  • wrong Brand
  • wrong Model
  • non readable
See also other documents in the category Trebor Pumps:
  • SL20 CHAMPION (25 pages)
  • 55D EVOLVE (27 pages)
  • 55E EVOLVE (28 pages)
  • 610E Magnum (22 pages)
  • 610NM Magnum (22 pages)
  • 610R Magnum (24 pages)
  • 610RC Magnum (18 pages)
  • 620D Magnum (25 pages)
  • 620E Magnum (29 pages)
  • 620R Magnum (28 pages)
  • 50D Maxim (25 pages)
  • 50E Maxim (33 pages)
  • 50R Maxim (25 pages)
  • 50R-X12 Maxim (24 pages)
  • 120D Mega (28 pages)
  • 120E Mega (25 pages)
  • 960E Mega (24 pages)
  • 110E (23 pages)
  • 110R (23 pages)
  • PC15CP (12 pages)
  • PC7 (16 pages)
  • 20 PURUS (12 pages)
  • CP PURUS (17 pages)
  • REV6 (34 pages)
Home Brands Popular manuals Recently added
Manuals Directory

© 2012–2025, azmanual.top
All rights reserved.