Weiter 3, Siehe pixelanpassung und bedienung, Zone anpassung – JVC DLA-X90R User Manual
Page 70: Position 8 / 5 h - 31, H (horizontal), Pixel-einstellung zone anpassung rot, V - 7, Vertikal

70
Weiter
3
Regulierungen und Einstellungen im Menü (Fortsetzung)
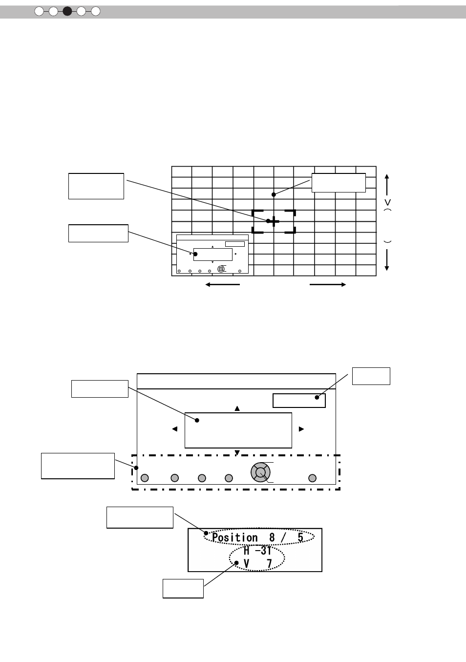
Pixel-Einstellung
Zone anpassung
Rot
Position 8 / 5
H - 31
V - 7
Color A.
GAMMA
PIC.
COLOR.
COLOR.
Auswahl
Weiter
Zurück
BACK
TEMP
P.FILE.
ADJ.
A. Area
Color P.
ADJUST.
Vertikal
Pixel-Einstellung
Zone anpassung
Rot
Position 8 / 5
H - 31
V - 7
Color A.
GAMMA
PIC.
COLOR.
COLOR.
Select
Operate
Zurück
BACK
TEMP
P.FILE.
ADJ.
A. Area
Color P.
ADJUST.
H (Horizontal)
Siehe Pixelanpassung und Bedienung:
Zone anpassung (teilweise Anpassung)
Nachdem Sie eine Gesamtanpassung zur Behebung der Fehler auf der gesamten Projektionsfläche
durchgeführt haben, fahren Sie mit der Feineinstellung fort. Die Projektionsfläche kann vertikal und
horizontal in 10 Bereiche unterteilt werden. Drücken Sie zur Anzeige des [Zone anpassung]-Fensters
die Taste [PIC ADJ (Bildanpassung)] an der Fernbedienung. Alternativ stellen Sie die Option [Bereich
auswählen] im Hauptmenü auf [Zone] ein und wählen [Farbe auswählen] und [Pattern anpassen];
dann bewegen Sie den Cursor auf [Fine Tune (Feineinstellung)] und drücken zur Anzeige des
Anpassungsfensters die [OK]-Taste an der Fernbedienung.
(*) Der Einstellbereich kann je nach Anpassungsgrad der gesamten Projektionsfläche geringer sein.
Zone
Cursor
Zone anpassung
Bewegen Sie den Cursor mit den Tasten [AUFWÄRTS], [ABWÄRTS], [LINKS] und [RECHTS] an die
Position, die Sie anpassen möchten. Drücken Sie zum Aufrufen des Anpassungsmodus die [OK]-Taste
an der Fernbedienung. Daraufhin können Sie die Pixel in vertikaler und horizontaler Ausrichtung inner-
halb des Bereichs mit den Tasten [AUFWÄRTS], [ABWÄRTS], [LINKS] und [RECHTS] verschieben und
anpassen. Die Anpassung erscheint gemeinsam mit der Cursor-Position in der Mitte des Anpassungs-
fensters. Mit der [BACK (Zurück)]-Taste verlassen Sie den Anpassungsmodus.
H0
H10
V0
V10
Zone anpassung
Pixelanpassung
Bedienungsanleitung
zur Fernbedienung
Farbe
auswählen
Cursor-Position
(Siehe Seite: 68)
Einstellung
anpassen
Farbmuster
auswählen
