Regolazioni ed impostazioni nel menu (continua), Procedi 3, Zona regolazione – JVC DLA-X90R User Manual
Page 166: Position 8 / 5 h - 31, Vertical, Regolaz. pixel zona regolazione rosso, V - 7

70
Procedi
3
Regolazioni ed impostazioni nel menu (Continua)
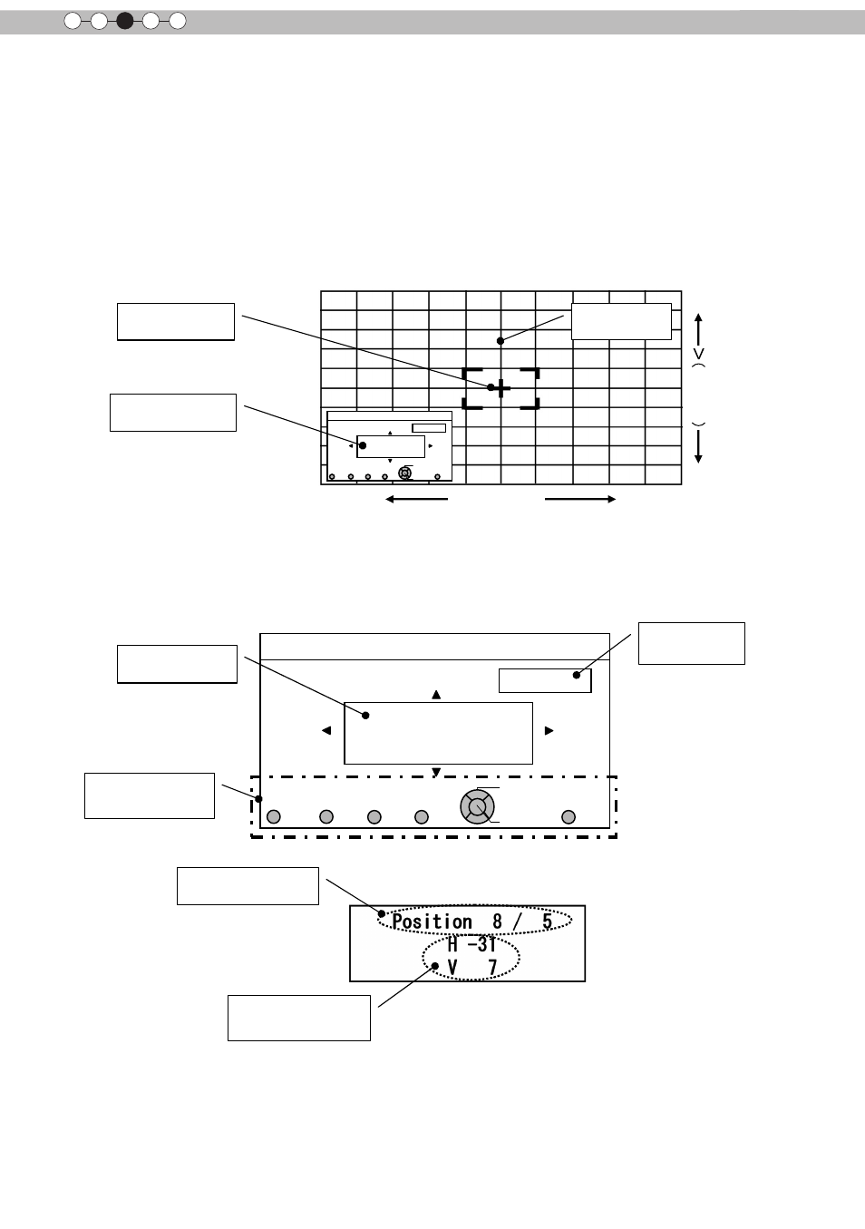
Fare riferimento alla sezione Flusso ed operazioni di regolazione pixel: Regolazione zona (rego-
lazione parziale)
Dopo avere eseguito le regolazioni degli errori di tutto lo schermo, procedere con la regolazione di precisione. Lo scher-
mo può essere diviso verticalmente ed orizzontalmente in 10 sezioni per eseguire le regolazioni. Premere il tasto [PIC
ADJ] del telecomando per visualizzare la finestra [Zona regolazione]. Oppure, nel menu principale, impostare [Regola
area] su [Zona] e selezionare [Regola colore] e [Schema Regolaz.], poi spostare il cursore su [Fine Tune] (Regolazione di
precisione) e premere il tasto [OK] del telecomando per visualizzare il modello di regolazione e la finestra di regolazione
zona.
(*) La portata della regolazione può diminuire in base alle dimensioni di regolazione dell’intero schermo.
Regolaz. Pixel
Zona regolazione
Rosso
Position 8 / 5
H - 31
V - 7
Color A.
GAMMA
PIC.
COLOR.
COLOR.
Selez.
Procedi
Indietro
BACK
TEMP
P.FILE.
ADJ.
A. Area
Color P.
ADJUST.
Regolaz. Pixel
Zona regolazione
Rosso
Position 8 / 5
H - 31
V - 7
Color A.
GAMMA
PIC.
COLOR.
COLOR.
Selez.
Procedi
Indietro
BACK
TEMP
P.FILE.
ADJ.
A. Area
Color P.
ADJUST.
H (Orizzontale)
Vertical
Regola modello
colori
V0
Cursore zona
Zona regolazione
Zona regolazione
Usare il tasto [SU], [GIÙ], [SINISTRA] e [DESTRA] per spostare il cursore sulla posizione che si vuole regolare.
Premere il tasto [OK] del telecomando per accedere alla modalità di regolazione operazione. Usare il tasto [SU],
[GIÙ], [SINISTRA] e [DESTRA] per spostare e regolare i pixel in direzione verticale e orizzontale all’interno della
zona. Le impostazioni di regolazione appaiono al centro della finestra di regolazione zona insieme al cursore.
Usare il tasto [BACK] per uscire dalla modalità di regolazione operazione.
Regolazione
impostazioni pixel
Regola colore
Guida all’uso del
telecomando
(
Pagina di riferimento: 68
)
Regola impostazione
Posizione del cursore
V10
H0
H10
