Technical information, Page 109 – Xantrex Technology 120 VAC/60 User Manual
Page 117

TECHNICAL INFORMATION
2001 Xantrex Technology, Inc.
5916 - 195th Street N. E.
Arlington, WA 98223
Telephone: 360/435-8826
Fax: 360/435-2229
www.traceengineering.com
SW Series Inverter/Charger
Part No. 2031-5
Rev. C: February 2001
Page
109
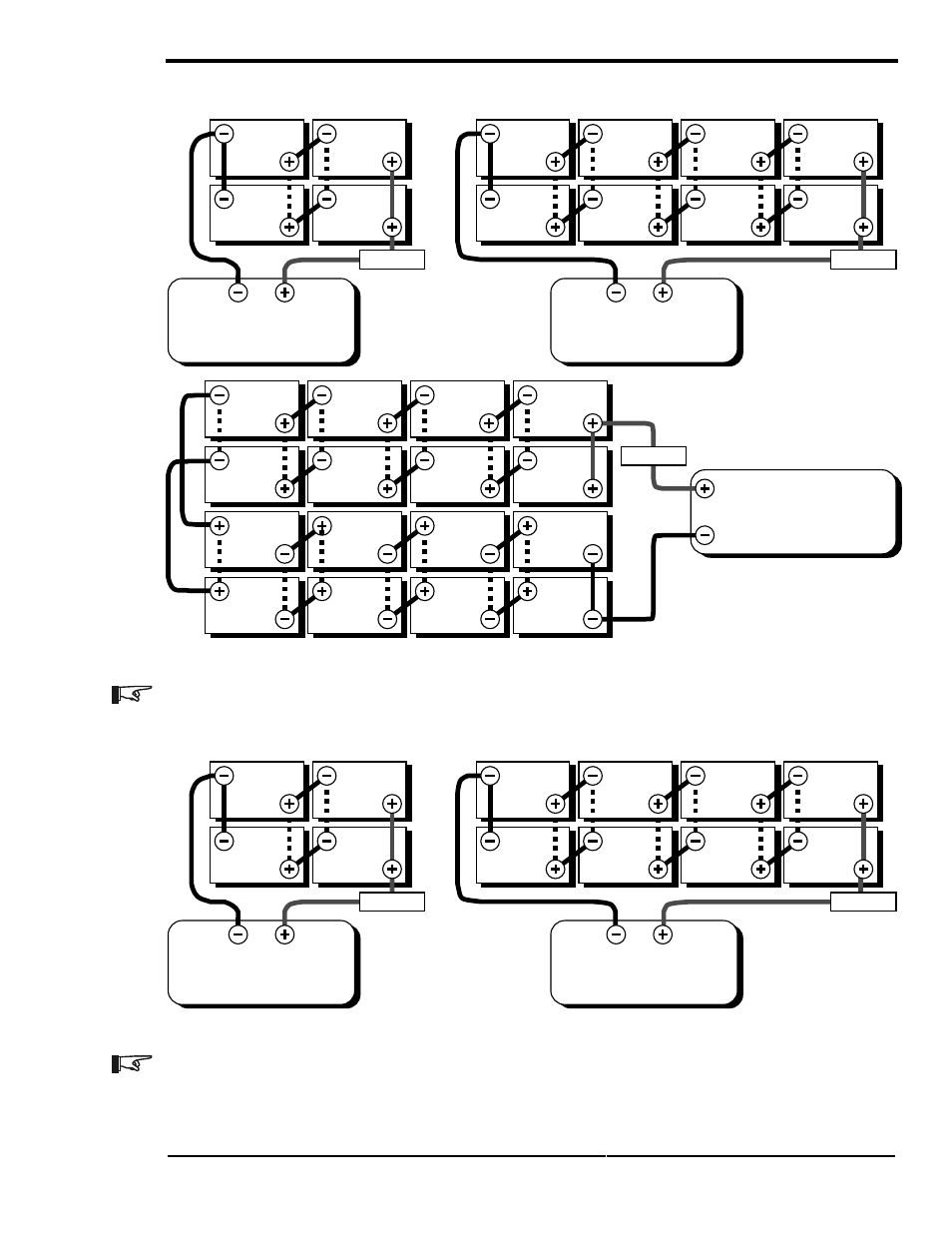
Each individual 6-volt battery capacity = 100 amp hours
NOTE: If “cross-tying” is not required, the “dash” (- - -) connections are not needed.
Figure 34, Series-Parallel Configuration: 6-Volt Battery Wiring
Each individual 12-volt battery capacity = 50 amp hours
NOTE: If “cross-tying” is not required, the “dash” (- - -) connections are not needed.
Figure 35, Series-Parallel Configuration: 12-Volt Battery Wiring
12V INVERTER
(Total Battery Capacity
= 200 Amp Hours)
6V
6V
6V
6V
FUSED
DISCONNECT
6V
6V
24V INVERTER
(Total Battery Capacity
= 200 Amp Hours)
6V
6V
FUSED
DISCONNECT
6V
6V
6V
6V
6V
6V
48V INVERTER
(Total Battery Capacity
= 200 Amp Hours)
6V
6V
6V
6V
6V
6V
6V
6V
6V
6V
6V
6V
6V
FUSED
DISCONNECT
24V INVERTER
(Total Battery Capacity
= 100 Amp Hours)
12V
12V
12V
12V
FUSED
DISCONNECT
12V
12V
48V INVERTER
(Total Battery Capacity
= 100 Amp Hours)
12V
12V
FUSED
DISCONNECT
12V
12V
12V
12V
