前面板 顯示幕, 控制與顯示, 控制與顯示 03 – Pioneer HTZ180DVD User Manual
Page 73: 第 3 章, English español english español

控制與顯示
03
13
Zhtw
English
Español
English
Español
第 3 章
控制與顯示
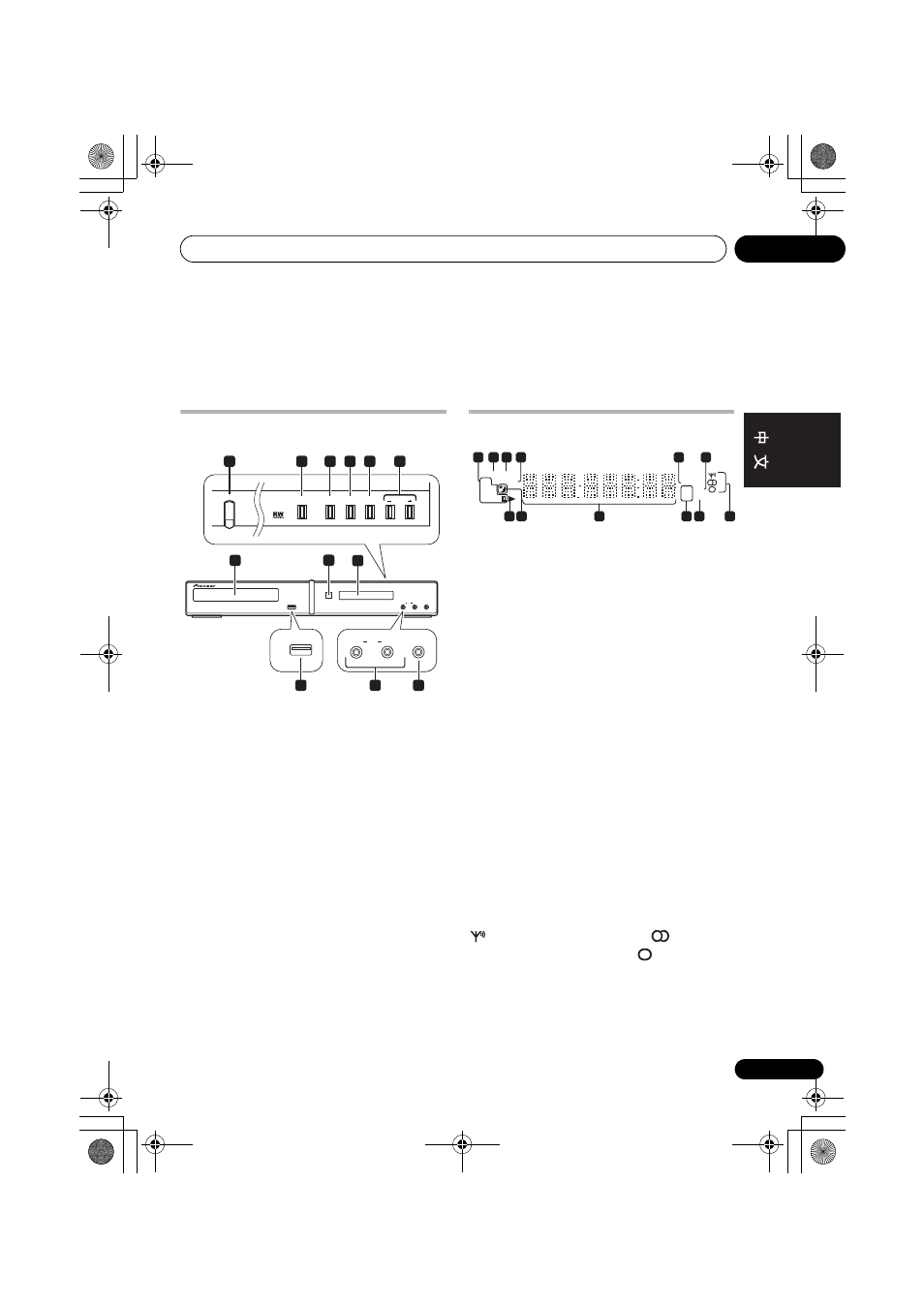
前面板
1
STANDBY/ON (第 17、32、43、50、
52 以及 54 頁)
2
OPEN/CLOSE (第 18、32 以及 53 頁)
3
功能
4
5
6
VOLUME +/– (第 19 頁)
7
碟盤 (第 18 頁)
8
遙控感應器 (第 15 頁)
9
顯示幕
10 USB 介面 (第 31 頁)
11 MIC 輸入插孔 (第 33 頁)
12 PHONES 插孔 (第 23 頁)
顯示幕
1
解碼指示燈 (第 22 頁)
DTS 在
DTS
來源播放期間會亮起。2PL II 在
2
Dolby Pro Logic II
解碼時亮起,2D 在播放
杜比數位音源時亮起。
2
PRGSVE (第 41 頁)
色差影像輸出端子輸出逐行掃描訊號時,便會
亮起。
3
SOUND (第 23 頁)
SFC
模式、音調控制(高音、低音或重低音)、
MP3
擴展器模式、聲音強化器模式起動時會亮
起。
4
F.SURR. (第 23 頁)
選取 「加大功率」模式/ 「前置環繞聲」模式
時會亮起。
5
RPT 及 RPT-1 (第 28 頁)
RPT 在重複播放期間會亮起。RPT-1 在重複播
放單曲期間會亮起。
6
PGM (第 27 以及 29 頁)
此燈於節目或播放清單播放期間會亮起。
7
調諧器指示燈 (第 20 頁)
收聽到廣播節目時會亮起,
收聽到立
體聲
FM
廣播節目時會亮起,
在選取
FM
單
聲道接收時會亮起。
8
RDM (第 28 頁)
此燈在隨機播放期間會亮起。
MAIN
USB
SUB
MIC
PHONES
OPEN/CLOSE
STANDBY/ON
FUNCTION
VOLUME
MAIN
SUB
MIC
PHONES
USB
10
12
5
2
1
7
8
9
3
4
6
11
PRGSVE SOUND
DTS F.SURR.
2
PL
2
D
RPT -1
kHz PGM
MHz RDM
6
12
8
9
7
5
11
3
10
2
1
4
HTZ180_181_280_282DVD_Zhtw.book Page 13 Friday, March 20, 2009 1:03 PM