僅適用於, Htz181dvd, 機型的準備工作 – Pioneer HTZ180DVD User Manual
Page 67: 將揚聲器安裝在牆上, 揚聲器安裝指南 01, English español english español

揚聲器安裝指南
01
7
Zhtw
English
Español
English
Español
注意
•
塑膠鉤不是固定配件,而且也不應使用此鉤
子直接將揚聲器掛在牆壁上。一律使用纜線
保持揚聲器的穩定。
•
對於因不當組裝、安裝、安裝材料強度不
足、誤用或天然災害造成的任何損失或損
壞,先鋒概不擔負任何責任。
•
放置本機時,請確定已牢牢固定本機,並避
免放置在可能因天然災害 (例如地震)而
掉落並造成人員受傷的區域。
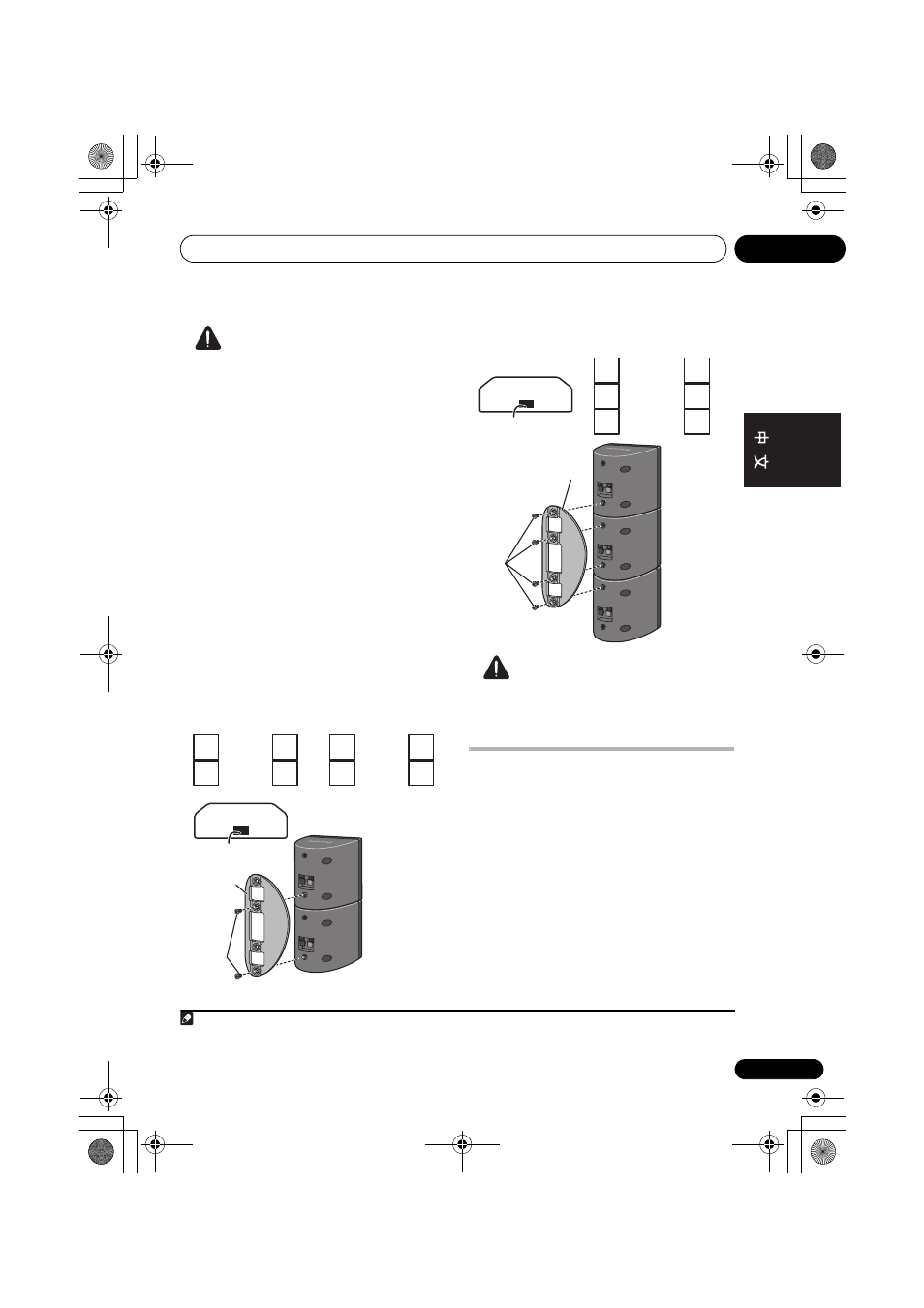
僅適用於 HTZ181DVD 機型的準備工作
堆疊揚聲器並使用托架固定
每個揚聲器背面的機型標籤上都有協助識別的
顏色標示指示。請參照顏色指示並正確安裝揚
聲器。
如圖所示堆疊揚聲器。
1
如以下每張圖片所示,
將托架對齊各自的上側與下側螺絲孔,然後安
全地固定螺絲。
4 點 /3 點揚聲器配置:
2 點揚聲器配置:
注意
•
連接托架時,不可嘗試拿著揚聲器。這樣
做會造成托架損壞,或如果托架和揚聲器
掉落時導致它們的損壞更加嚴重。
將揚聲器安裝在牆上
HTZ180DVD
機型的環繞揚聲器有固定托架。
HTZ181DVD
機型的前置、中置和環繞揚聲器
有固定托架。
HTZ280DVD/280DVD-AP
機型
的中置和環繞揚聲器有固定孔。
HTZ282DVD/
HTZ282DVD-AP
機型只有中置揚聲器有固定
孔。
安裝前
•
請記得揚聲器很重,同時其重量可導致螺絲
鬆脫,或牆壁用材損壞難以支撐,而造成揚
聲器掉落。請確定您要安裝的那面牆的強度
足以支援這些揚聲器。請勿安裝在膠合板或
軟質的牆壁上。
附註
1
使用前置環繞聲模式時,請勿疊起環繞聲揚聲器,而是將它們放在前置揚聲器旁,然後朝外
60°
面向前置揚聲器以取得最
佳音效。
ࠊဋඵᖑᏣ
ࠊဋඵᖑᏣ
ϜဋඵᖑᏣ
ѿဋ
ᆧՔ
कՔ
Ѣဋ
4
ᘉĻ
ࠊဋඵᖑᏣ
ᕘᙔඵᖑᏣ
ѿဋ
ᙣՔ
ҪՔ
ԹՔ
कՔ
Ѣဋ
3
ᘉĻ
ᚠՔࡿұᐸ
ᐡᆎዀᡇ
ᆧՔ
ҪՔ
ᖴ
ԝ࢝
ᚠՔࡿұᐸ
ᐡᆎዀᡇ
ࠊဋඵᖑᏣ
ϜဋඵᖑᏣ
ᕘᙔඵᖑᏣ
ѿဋ
ᙣՔ
ҪՔ
ᆧՔ
ԹՔ
कՔ
ᆧՔ
Ѣဋ
ᖴ
ϜဋඵᖑᏣ
ࠊဋඵᖑᏣ
ᕘᙔඵᖑᏣ
ԝ࢝
HTZ180_181_280_282DVD_Zhtw.book Page 7 Friday, March 20, 2009 1:03 PM