Directory
Brands
EZ-ACCESS manuals
Health and hygiene
PATHWA MODULAR ACCESS SYSTEM
Manual

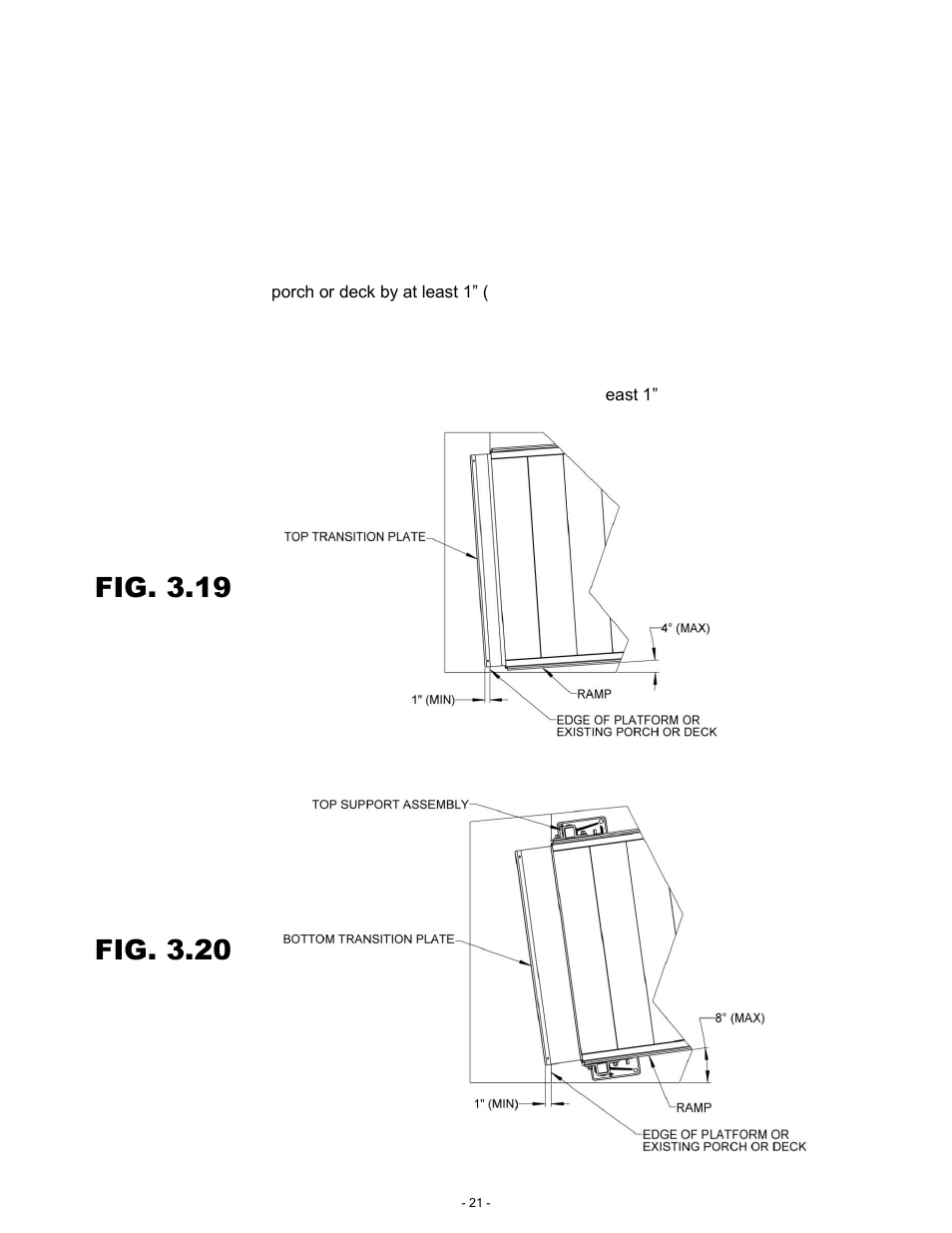
Fig. 3.19, Fig. 3.20 – EZ-ACCESS PATHWA MODULAR ACCESS SYSTEM User Manual

Page 21

  • Text mode
  • Original mode
Fig. 3.19, Fig. 3.20 | EZ-ACCESS PATHWA MODULAR ACCESS SYSTEM User Manual | Page 21 / 49 Fig. 3.19, Fig. 3.20 | EZ-ACCESS PATHWA MODULAR ACCESS SYSTEM User Manual | Page 21 / 49
Pages: 1 … 19 20 21 22 23 … 49
  • wrong Brand
  • wrong Model
  • non readable
See also other documents in the category EZ-ACCESS Health and hygiene:
  • FORTRES OSHA STAIR SYSTEM (6 pages)
  • TITA MODULAR ACCESS SYSTEM (24 pages)
  • TITA MODULAR ACCESS SYSTEM (3 pages)
  • GATEWA SOLID SURFACE PORTABLE RAMP (9 pages)
  • PASSPOR (47 pages)
  • PASSPORT (2 pages)
  • PASSPORT (26 pages)
  • PASSPORT TOP LANDING GATE HINGE REPLACEMENT (8 pages)
  • PATHWA MODULAR ACCESS SYSTEM (15 pages)
  • SUITCAS SINGLEFOLD AS RAMP (2 pages)
  • SUITCAS SINGLEFOLD RAMP (2 pages)
  • SUITCAS TRIFOLD AS RAMP (2 pages)
  • TRANSITION ANGLED ENTRY MAT (2 pages)
  • TRANSITION MODULAR ENTRY MAT (2 pages)
Home Brands Popular manuals Recently added
Manuals Directory

© 2012–2025, azmanual.top
All rights reserved.