SINGER W801 User Manual
Page 47
Attention! The text in this document has been recognized automatically. To view the original document, you can use the "Original mode".

46
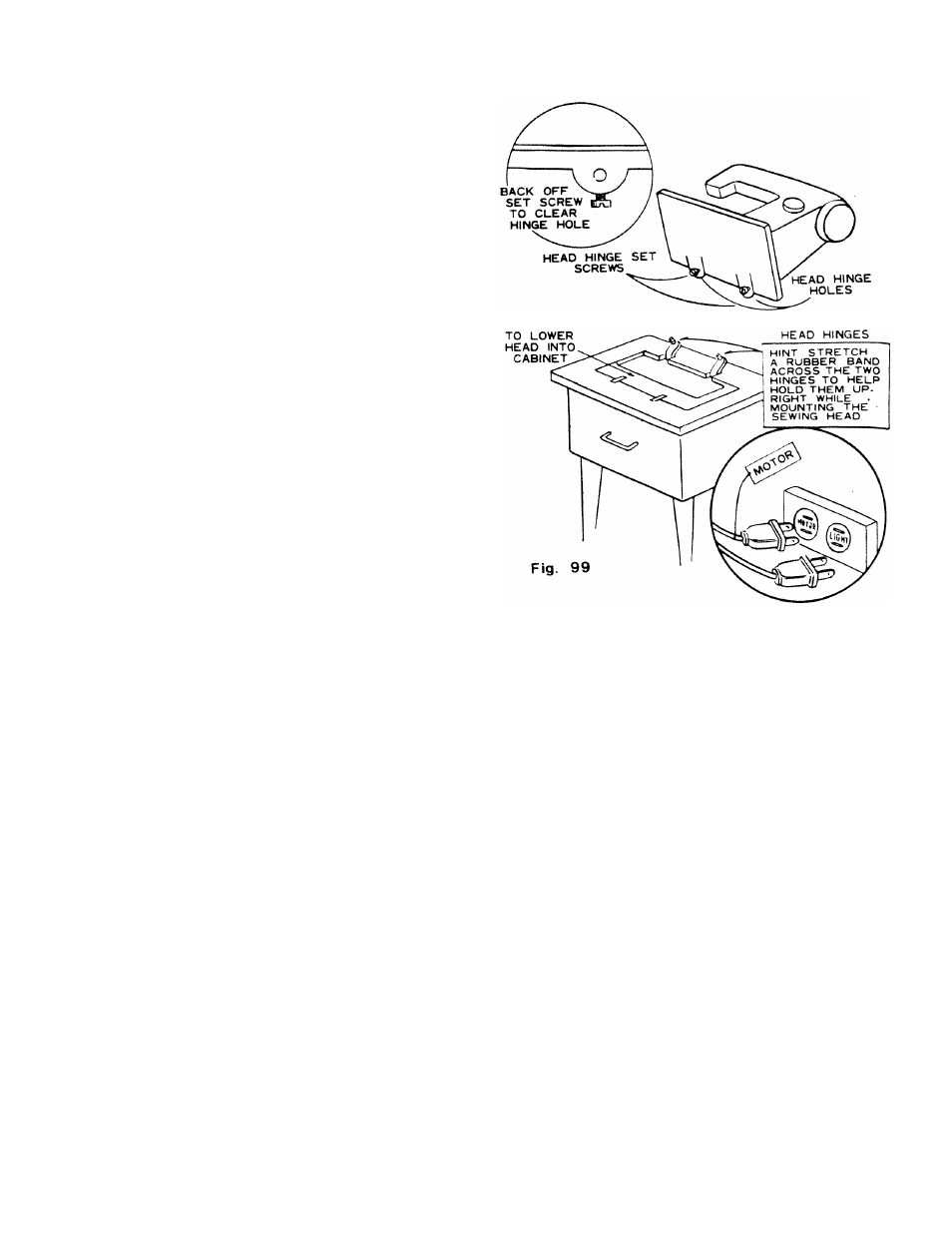
INSTALLING SEWING HEAD IN CABINET
1.
Back off both head hinge set screws
until head hinge hole is clear.
2.
Tilt head hinge tongues up and back
as far as they will go.
3.
Carefully slip head onto head hinges
--making
sure
tongues
are
inserted
as
far
as
they
can
go
into
head
hinge holes.
4.
Allow the head to rest in its tilted-
back position.
5.
Tighten
both
set
screws
securely
with screw driver.
6. Plug electrical leads into sockets
located inside cabinet. Cord identi
fied with “motor" tag must be plugged
into socket marked "motor”.
Untagged cord goes to "light
socket.
See Fig. 99
LIFT FLAP
See also other documents in the category SINGER Sewing machines:
- 401A (116 pages)
- Simple 3116 (94 pages)
- 1507 (88 pages)
- 1507WC (88 pages)
- 112W140 (32 pages)
- 147-2 (30 pages)
- 114-33 (43 pages)
- 119-3 (23 pages)
- 14K1 (10 pages)
- 147-104 (34 pages)
- 116-1 (20 pages)
- 115-2 (38 pages)
- 14U286 (40 pages)
- 14U286B (21 pages)
- 114-4 (29 pages)
- 142W25 (10 pages)
- 147-81 (28 pages)
- 118 (16 pages)
- 136W105 (22 pages)
- 114-41 (20 pages)
- 147-4 (28 pages)
- 105-3 (30 pages)
- 1027 (36 pages)
- 147-26 (37 pages)
- 12W208 (25 pages)
- 128-4 (25 pages)
- 109-320 (14 pages)
- CP17 (47 pages)
- 147-6 (56 pages)
- 132B26 (9 pages)
- 114-2 (36 pages)
- 1371A3 (86 pages)
- 14CG754 (53 pages)
- 147-50 (39 pages)
- 14T967DC (3 pages)
- 109-520 (13 pages)
- 14SH654 ULTRALOCK (48 pages)
- 147-86 (30 pages)
- 105-20 (23 pages)
- W303 (13 pages)
- 147-38 (53 pages)
- 114-22 (45 pages)
- 1375A1 (33 pages)
- 107-2 (31 pages)
- 1200A (4 pages)